授权公布号:CN218465258U
一种电梯停电用乘客自救防困装置
有效
申请
2022-06-24
申请公布
1970-01-01
授权
2023-02-10
预估到期
2032-06-24
| 申请号 | CN202221603376.8 |
| 申请日 | 2022-06-24 |
| 授权公布号 | CN218465258U |
| 授权公告日 | 2023-02-10 |
| 分类号 | B66B5/02 |
| 分类 | 卷扬;提升;牵引; |
| 申请人名称 | 苏州德奥电梯有限公司 |
| 申请人地址 | 江苏省苏州市吴江经济技术开发区仪塔路588号 |
专利法律状态
2023-02-10
授权
状态信息
授权
摘要
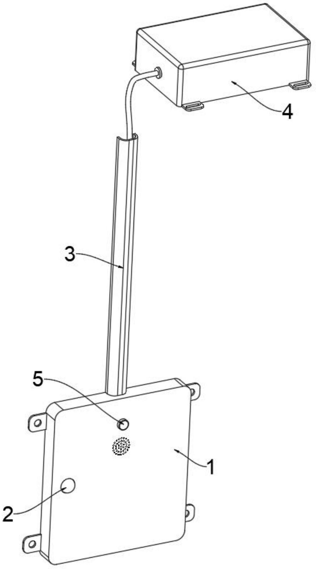
本实用新型公开了一种电梯停电用乘客自救防困装置,涉及电梯自救防困技术领域,为解决现有的电梯一旦出现停电时,容易导致内部人员被困,由于电梯轿厢能隔绝无线信号,因此大部分情况下,被困人员只能被动的等待救援,对于部分能求救的电梯只能向周围发出报警声,不能直接与网上报警系统建立联系,安全性有待提高的问题。所述固定安装座的内壁上固定安装有备用电池、应急电路板、求救器,所述固定安装座的外部设置有无线信号收发器,所述求救器、无线信号收发器以及备用电池均与应急电路板电性连接,所述无线信号收发器与求救器电性连接,所述固定安装座的外表面上设置有照明孔。


