授权公布号:CN212511654U
一种带有双重杀菌功能的电梯
有效
申请
2020-04-14
申请公布
1970-01-01
授权
2021-02-09
预估到期
2030-04-14
| 申请号 | CN202020544660.7 |
| 申请日 | 2020-04-14 |
| 授权公布号 | CN212511654U |
| 授权公告日 | 2021-02-09 |
| 分类号 | F24F8/108; |
| 分类 | 供热;炉灶;通风; |
| 申请人名称 | 苏州德奥电梯有限公司 |
| 申请人地址 | 江苏省苏州市吴江经济技术开发区仪塔路588号 |
专利法律状态
2021-02-09
授权
状态信息
授权
摘要
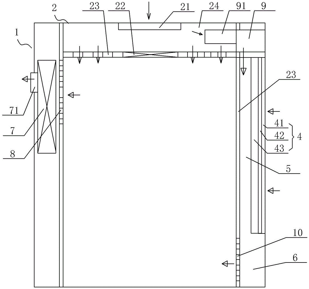
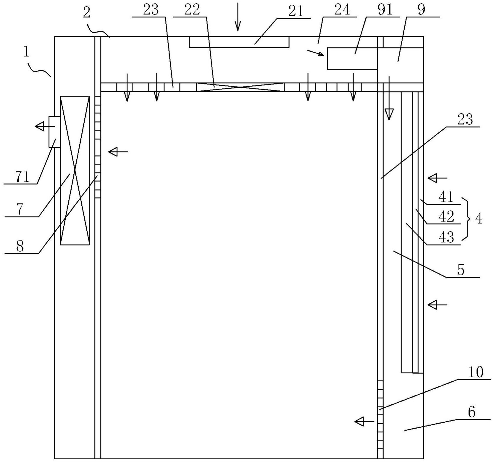
本实用新型提供了一种带有双重杀菌功能的电梯,其能及时清除轿厢内的细菌和病毒,确保轿厢内乘客的乘梯安全。轿厢的顶部设置有吸顶式医用空气消毒机,所述吸顶式医用空气消毒机包括顶部中心外露的进气滤板、下部中心的蓝紫光无臭氧高强度紫外灯、下部两侧的出气通道,所述轿厢的两侧壁分别设置有预制内腔,其中一侧壁的预制内腔内设置有空气消毒净化机,所述空气消毒净化机的外侧设置有进气缓释滤网,所述进气缓释滤网的内侧设置有紫外光触媒,所述紫外光触媒的内侧设置有吸风装置,所述吸风装置的内侧设置有导向风道,所述导向风道的底部设置有出风口,另一侧壁的预制内腔内设置有抽风装置,所述抽风装置的内壁设置有进风滤网。


