授权公布号:CN110341663B
一种电子驻车系统及其控制方法
有效
申请
2019-07-28
申请公布
2019-10-18
授权
2024-02-23
预估到期
2039-07-28
| 申请号 | CN201910685759.0 |
| 申请日 | 2019-07-28 |
| 申请公布号 | CN110341663A |
| 申请公布日 | 2019-10-18 |
| 授权公布号 | CN110341663B |
| 授权公告日 | 2024-02-23 |
| 分类号 | B60T1/06;B60T7/00 |
| 分类 | 一般车辆; |
| 申请人名称 | 南京金龙客车制造有限公司 |
| 申请人地址 | 江苏省南京市溧水区柘塘镇滨淮大道369号 |
专利法律状态
2024-02-23
授权
状态信息
授权
2019-11-12
实质审查的生效
状态信息
实质审查的生效;IPC(主分类):B60T1/06;申请日:20190728
2019-10-18
公布
状态信息
公布
摘要
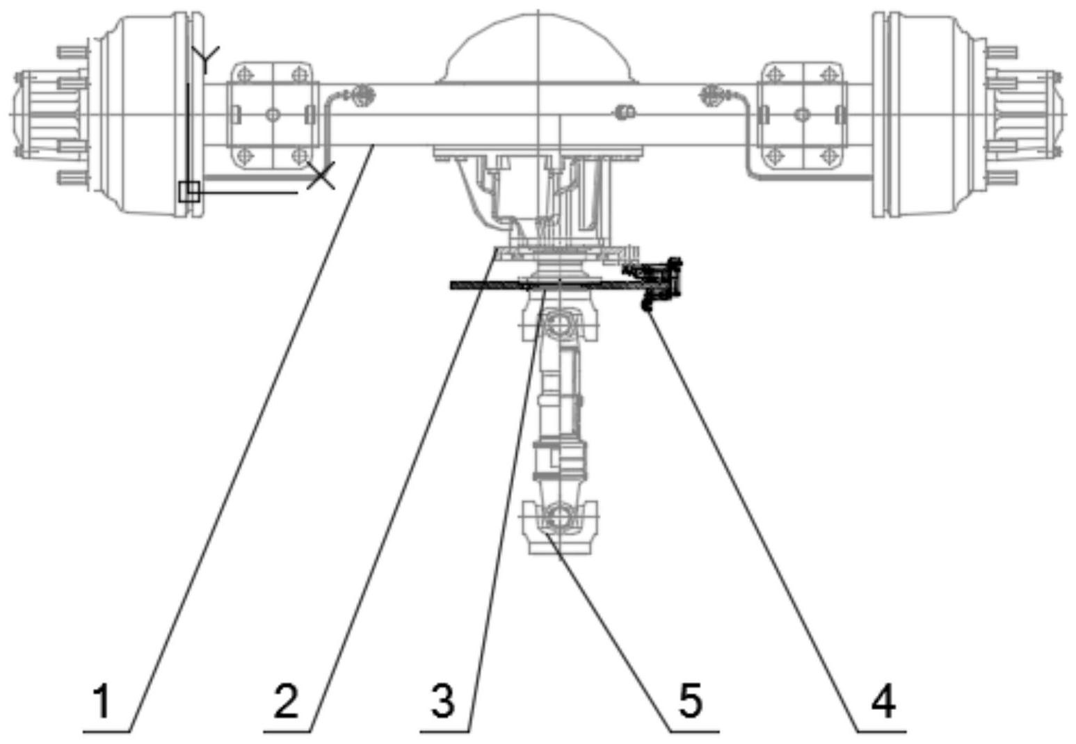
本发明公开了一种电子驻车系统,包括后桥、电子卡钳支架、中央制动盘、传动轴以及电子卡钳,所述中央制动盘的一个安装面位于后桥的法兰面上面,另外一个安装面在传动轴上面,所述中央制动盘与后桥的法兰面和传动轴固定在一起,所述电子卡钳支架固定于后桥上面,所述电子卡钳固定在电子卡钳支架上面,所述电子卡钳通过电子卡钳支架固定在后桥上面。本发明在原有客车的中央盘式驻车系统的基础上,把机械式卡钳换成电子,再加上整车系统的控制。此发明结构简单、可靠性高。


