授权公布号:CN103302188B
门框合页盒拉伸模具
有效
申请
2013-07-15
申请公布
2013-09-18
授权
2015-05-13
预估到期
2033-07-15
| 申请号 | CN201310293742.3 |
| 申请日 | 2013-07-15 |
| 申请公布号 | CN103302188A |
| 申请公布日 | 2013-09-18 |
| 授权公布号 | CN103302188B |
| 授权公告日 | 2015-05-13 |
| 分类号 | B21D37/10;B21D37/12 |
| 分类 | 基本上无切削的金属机械加工;金属冲压; |
| 申请人名称 | 驻马店市嵖岈山门业有限公司 |
| 申请人地址 | 河南省驻马店市关王庙工业园创业大道东段 |
专利法律状态
2015-05-13
授权
状态信息
授权
2013-10-23
实质审查的生效
状态信息
实质审查的生效IPC(主分类):B21D 37/10申请日:20130715
2013-09-18
公布
状态信息
公开
摘要
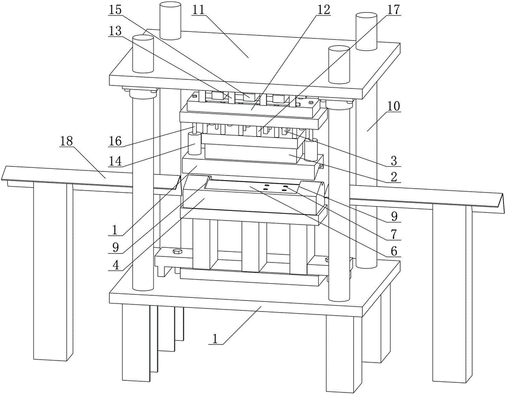
本发明提供一种门框合页盒拉伸模具,包括设置上模、下模以及驱动上模上下往复运动的驱动机构,上模包括卸料板、滑动穿设在该卸料板上的凸模以及滑动穿设在该凸模上的至少一个冲孔杆,下模包括凹模;凹模和卸料板形成用于夹持门框型材的夹持结构,凹模的上端面以及卸料板的下端面分别具有用于与门框型材被夹持部上下表面吻合配合的凹模夹持曲面和卸料板夹持曲面,凹模的上端面开设有供凸模插入的模槽,凸模与模槽形成门框合页盒冲压结构,凸模的下端面和模槽的槽底分别具有与门框型材的冲压部位上下表面相吻合的凸模曲面和模槽曲面。该门框合页盒拉伸模具具有设计科学、制作工艺精度高、合页安装配合度好、生产工序集成化、生产效率高的优点。


