授权公布号:CN217814811U
一种密集架传动机构
有效
申请
2022-08-15
申请公布
1970-01-01
授权
2022-11-15
预估到期
2032-08-15
| 申请号 | CN202222143867.5 |
| 申请日 | 2022-08-15 |
| 授权公布号 | CN217814811U |
| 授权公告日 | 2022-11-15 |
| 分类号 | F16H7/06;A47B63/06 |
| 分类 | 工程元件或部件;为产生和保持机器或设备的有效运行的一般措施;一般绝热; |
| 申请人名称 | 北京融安特智能科技股份有限公司 |
| 申请人地址 | 北京市通州区中关村科技园区通州园金桥科技产业基地环科中路17号55号楼 |
专利法律状态
2022-11-15
授权
状态信息
授权
摘要
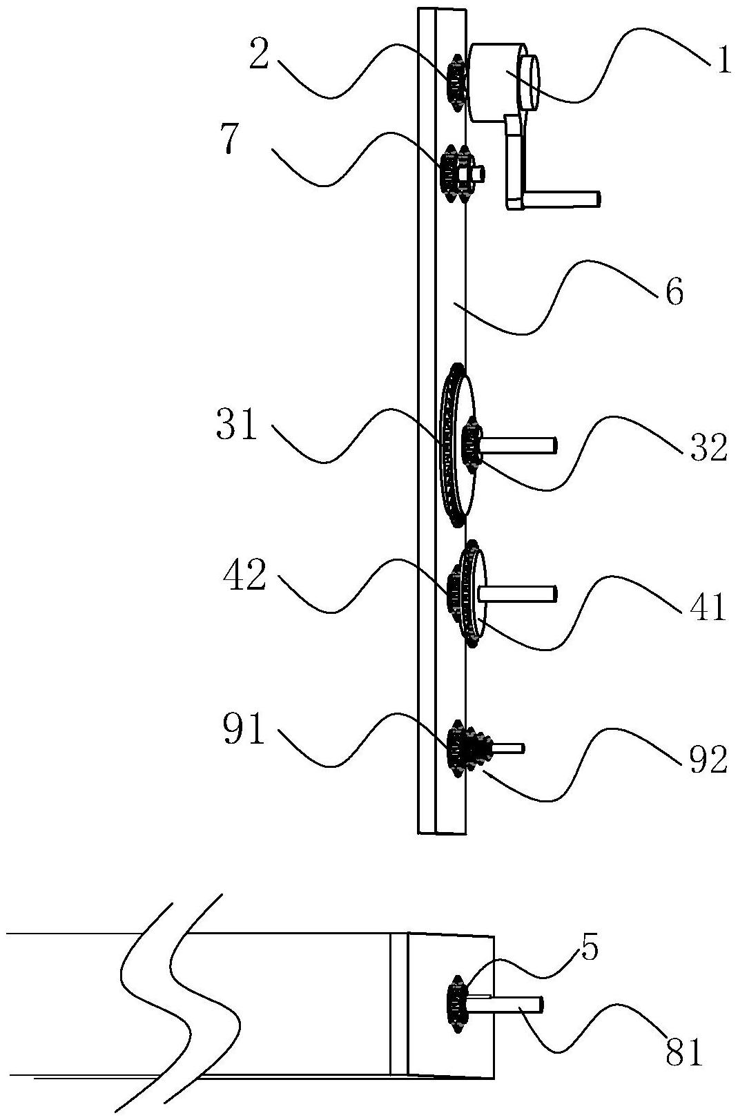
本申请涉及一种密集架传动机构,其属于密集架技术领域,包括手摇轮、手摇链轮、第一双链轮、第二双链轮、第三链轮和传动背板;手摇轮与手摇链轮连接;第一双链轮包括第一大链轮和第一小链轮,且第一大链轮直径大于手摇链轮,手摇链轮与第一大链轮传动连接;第二双链轮包括第二大链轮和第二小链轮,且第二大链轮直径大于第一小链轮,第一小链轮与第二大链轮传动连接;第三链轮直径等于第二小链轮,第二小链轮与第三链轮传动连接,第三链轮与密集架的行走轮传动连接;手摇链轮、第一双链轮和第二双链轮转动连接于传动背板上。本申请具有减少手摇运行密集架时所需的人力的效果。


