授权公布号:CN220220093U
一种印制特殊纹理效果的印刷装备
有效
申请
2023-07-26
申请公布
1970-01-01
授权
2023-12-22
预估到期
2033-07-26
| 申请号 | CN202321975296.X |
| 申请日 | 2023-07-26 |
| 授权公布号 | CN220220093U |
| 授权公告日 | 2023-12-22 |
| 分类号 | B41F19/00;B41F9/06;B41F9/00;B41J2/01;B41F19/02;B41J3/54;B41J2/175;B41J11/00;B41F23/04 |
| 分类 | 印刷;排版机;打字机;模印机〔4〕; |
| 申请人名称 | 云南侨通包装印刷有限公司 |
| 申请人地址 | 云南省昭通市昭阳区盐津路198号 |
专利法律状态
2023-12-22
授权
状态信息
授权
摘要
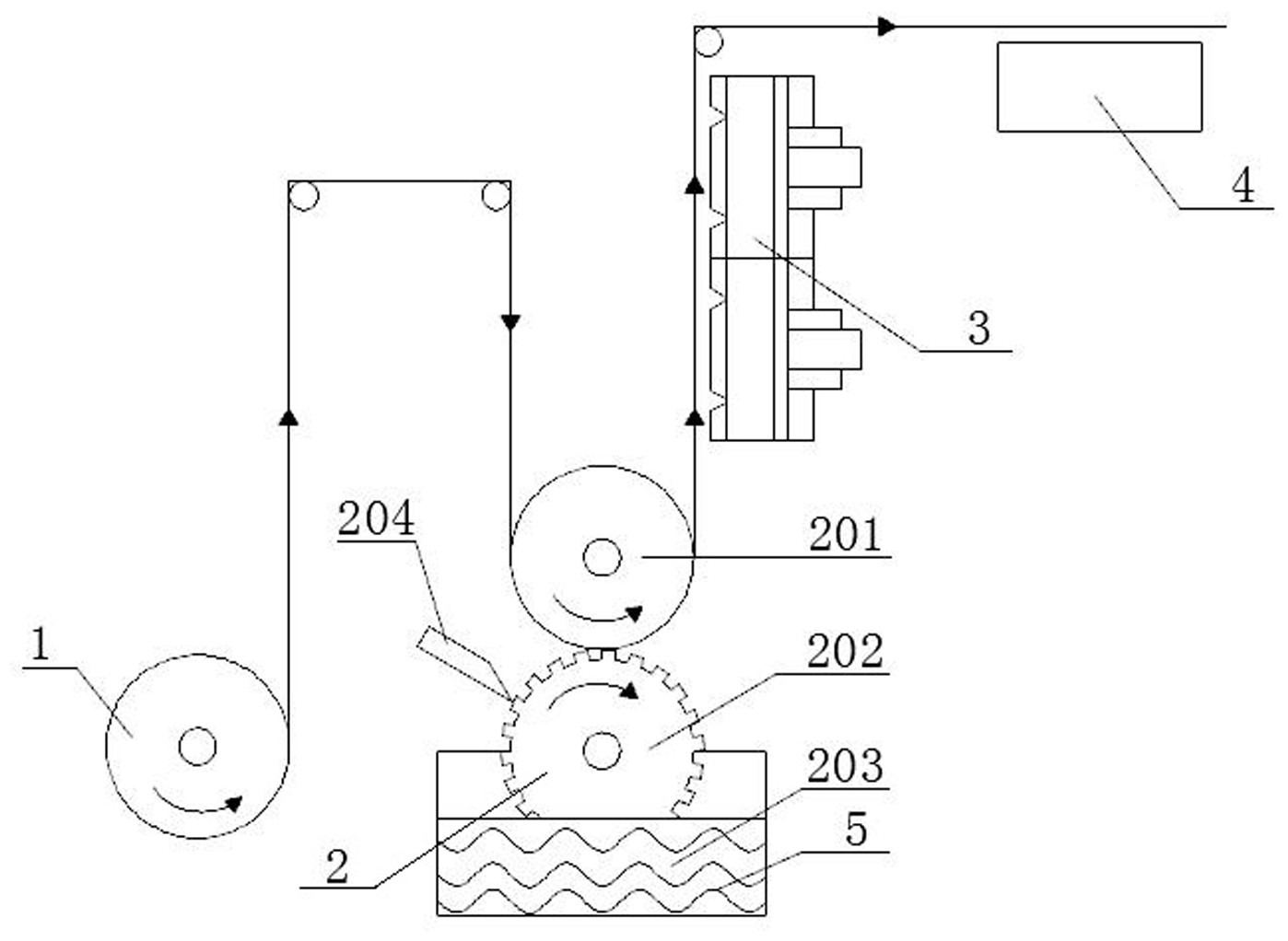
本实用新型涉及一种印制特殊纹理效果的印刷装备,印刷装备包括凹印装置及设置在其后的热风烘干装置,所述凹印装置与热风烘干装置之间还设置有数码超频震动喷印装置,所述数码超频震动喷印装置设置有墨水仓,所述墨水仓内充满油墨,所述油墨表层架设有可震动的震动片。本实用新型提出的“凹版印刷+喷印印刷”的印制装备可以印制出与“凹版印刷+丝网印刷”的印制装备相似度极高的特殊纹理效果,能够作为丝网印刷特殊纹理效果的替代工艺,不仅解决了现有技术存在的问题,而且能够多方面提升印刷效率,更适用于大批量供货需求。


