授权公布号:CN209020387U
一种环保型墙面漆反应釜
有效
申请
2018-10-30
申请公布
1970-01-01
授权
2019-06-25
预估到期
2028-10-30
| 申请号 | CN201821769143.9 |
| 申请日 | 2018-10-30 |
| 授权公布号 | CN209020387U |
| 授权公告日 | 2019-06-25 |
| 分类号 | B01J19/18 |
| 分类 | 一般的物理或化学的方法或装置; |
| 申请人名称 | 上海维度化工科技有限公司 |
| 申请人地址 | 上海市浦东新区上丰路977号1幢B座748室 |
专利法律状态
2019-06-25
授权
状态信息
授权
摘要
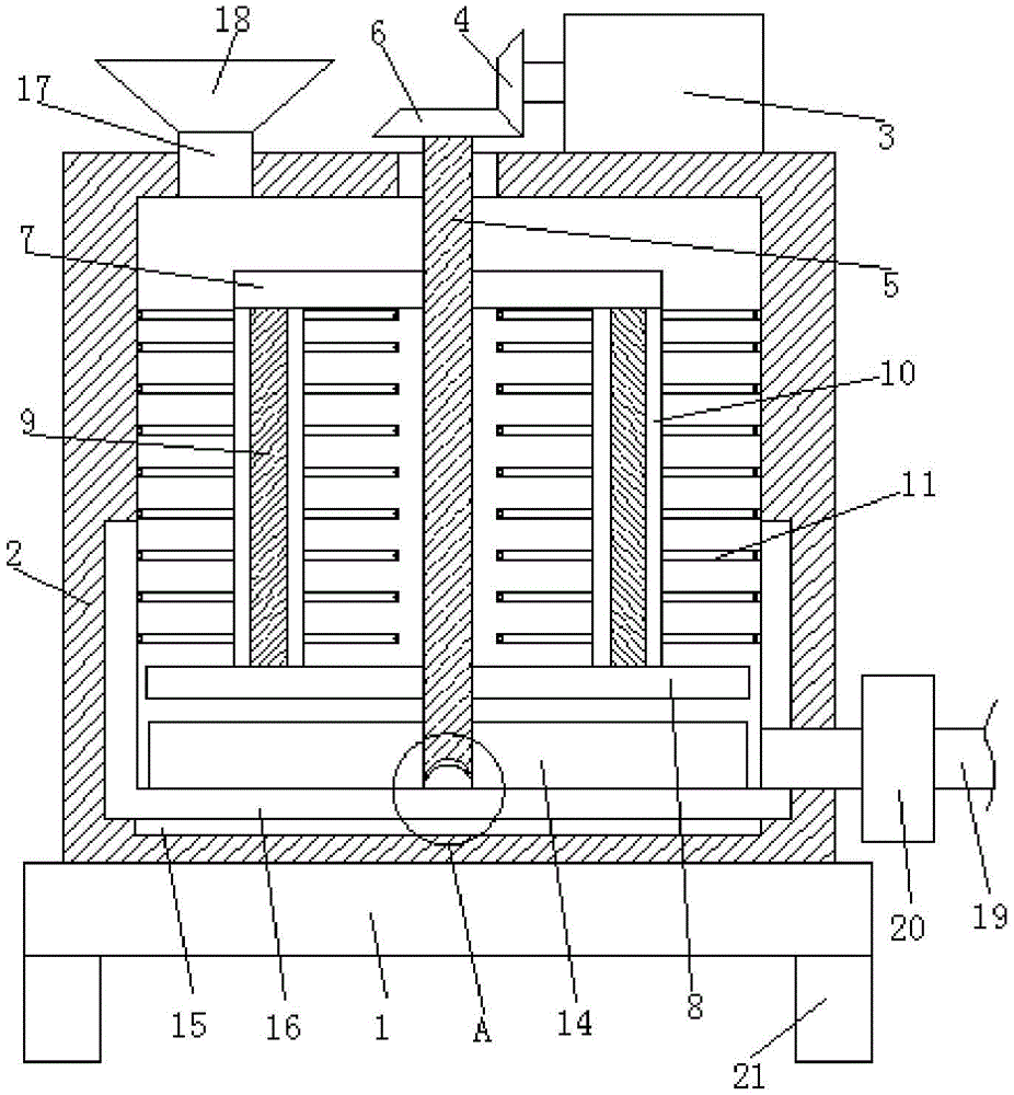
本实用新型公开了一种环保型墙面漆反应釜,包括底座,所述底座的上表面固定连接有一个筒体,所述筒体内部的底端固定安装有一个加热原件,所述加热原件的上表面固定连接有一根呈一端开口设置的加热筒,所述加热筒固定安装在筒体内部的底端,本实用新型所达到的有益效果是:在需要使用时,将墙面漆的原料通过进料漏斗倒入筒体内,再同时启动驱动电机与加热原件,驱动电机带动转动杆转动,转动杆带动转动套筒与第三固定杆进行同步移动,使得第三固定杆与转动套筒在定位槽与定位快的作用进行转动,对经过加热筒加热的原料进行多重搅拌,通过螺旋叶片将加热筒筒底的沉淀原料搅起,提高了反应釜的加工效果与效率。


