授权公布号:CN209020388U
一种环氧树脂彩砂漆生产用混合装置
有效
申请
2018-10-30
申请公布
1970-01-01
授权
2019-06-25
预估到期
2028-10-30
| 申请号 | CN201821769598.0 |
| 申请日 | 2018-10-30 |
| 授权公布号 | CN209020388U |
| 授权公告日 | 2019-06-25 |
| 分类号 | B01J19/18 |
| 分类 | 一般的物理或化学的方法或装置; |
| 申请人名称 | 上海维度化工科技有限公司 |
| 申请人地址 | 上海市浦东新区上丰路977号1幢B座748室 |
专利法律状态
2019-06-25
授权
状态信息
授权
摘要
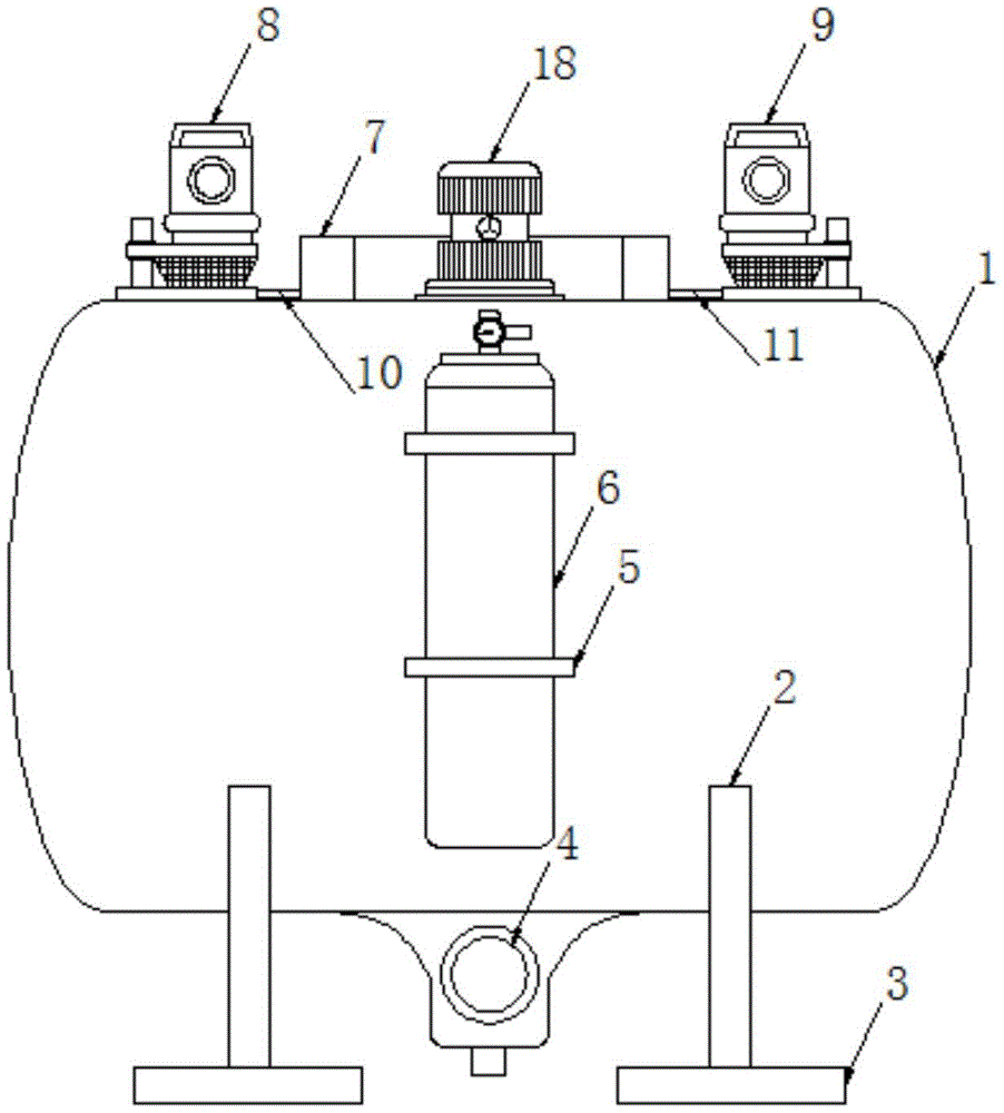
本实用新型公开了一种环氧树脂彩砂漆生产用混合装置,包括反应釜,反应釜下端固定安装有两个固定件,两个固定件下端均固定安装有支板,反应釜下端出料口位置固定安装有闸阀,反应釜一侧固定安装有两个呈平行设置的固定环,反应釜一侧设有氮气罐,氮气罐的外径等于两个固定环的内径,氮气罐通过两个固定环与反应釜固定安装,反应釜内部为中空设置,氮气罐输出端口穿过反应釜外壁并深入至反应釜内腔中,反应釜上端固定安装有水箱,水箱为弧形设计,本实用新型在反应过程中增加氮气的释放,提高反应的发生效率,增设了冷凝装置,设防反应釜内的因为反应发生释放出的热量。


