授权公布号:CN215100126U
一种漆料生产加工用进料机构
有效
申请
2021-07-05
申请公布
1970-01-01
授权
2021-12-10
预估到期
2031-07-05
| 申请号 | CN202121514932.X |
| 申请日 | 2021-07-05 |
| 授权公布号 | CN215100126U |
| 授权公告日 | 2021-12-10 |
| 分类号 | B65G33/24;B65G41/00;B65G33/14;B01D53/00;B01D53/18 |
| 分类 | 输送;包装;贮存;搬运薄的或细丝状材料; |
| 申请人名称 | 上海维度化工科技有限公司 |
| 申请人地址 | 上海市浦东新区上丰路977号1幢B座748室 |
专利法律状态
2021-12-10
授权
状态信息
授权
2021-12-10
授权
状态信息
授权
摘要
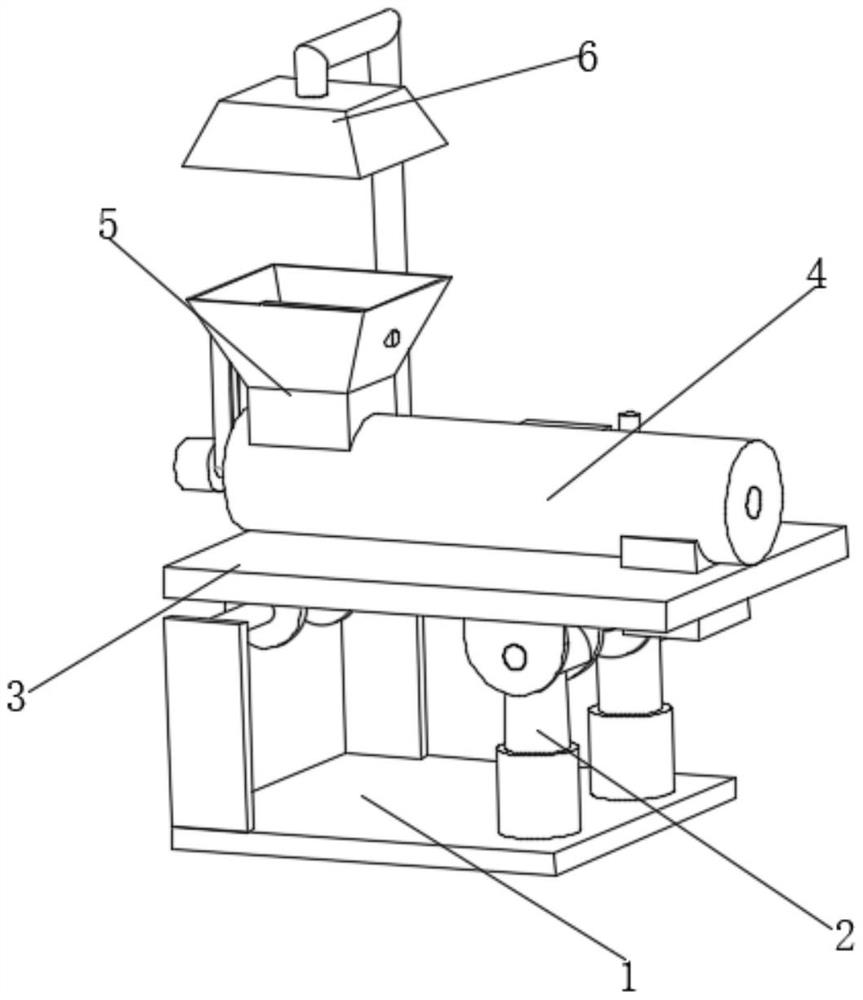
本实用新型涉及漆料生产加工技术领域,且公开了一种漆料生产加工用进料机构,包括:底板,所述底板的上表面设置有承载板,所述承载板的上表面固定连接有上料桶,所述上料桶的外表面上端固定连接有进料管,所述上料桶的一侧设置有吸收机构。该种漆料生产加工用进料机构,通过设置吸收机构,当工作人员通过进料管向上料桶的内部输送物料时,物料上方飘出的有毒气体,通过风机工作,通过传送管和连接管的相互配合,进料管上方产生负气压,从而使得吸收盘能够把有毒气体吸入到连接管的内部,通过传送管送到过滤装置的内部,过滤装置对有毒气体进行过滤,该结构能够有效的对漆料进料中产生的有毒气体进行吸收和过滤。


