授权公布号:CN220511470U
一种IGBT模块安装用绝缘挡片
有效
申请
2023-08-09
申请公布
1970-01-01
授权
2024-02-20
预估到期
2033-08-09
| 申请号 | CN202322132642.4 |
| 申请日 | 2023-08-09 |
| 授权公布号 | CN220511470U |
| 授权公告日 | 2024-02-20 |
| 分类号 | H05K7/12;H05K7/20;H05K7/02;H01R25/14;H01B17/56 |
| 分类 | 其他类目不包含的电技术; |
| 申请人名称 | 新风光电子科技股份有限公司 |
| 申请人地址 | 山东省济宁市汶上县经济开发区金成路中段路北 |
专利法律状态
2024-02-20
授权
状态信息
授权
摘要
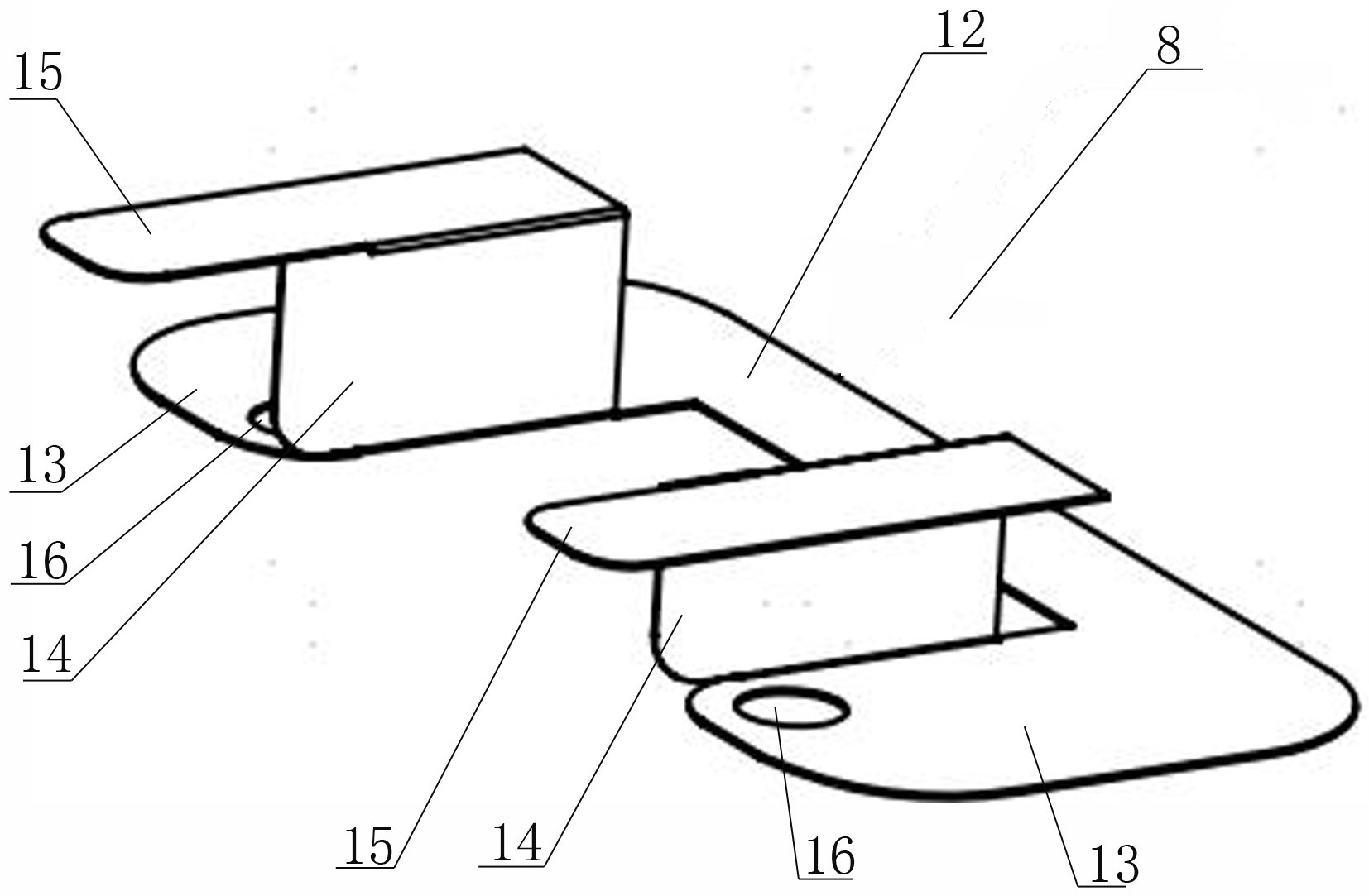
本实用新型的IGBT模块安装用绝缘挡片,包括散热器、IGBT模块和绝缘挡片,IGBT模块上设置与正母排、负母排以及输入排或输出排相连接的端子,绝缘挡片为柔性材质;特征在于:绝缘挡片由平面部、侧翼部、立面部和隔离部构成,IGBT模块和绝缘挡片经固定螺栓固定于散热器上,隔离部实现对正母排、负母排、输入排和输出排与固定螺栓之间的电气绝缘隔离。本实用新型的IGBT模块安装用绝缘挡片,满足输入排、输出排、正母排和负母排与固定螺栓之间的电气间隙>12mm的要求,避免了由于电气间隙不够所导致的“放电隐患、短路隐患、IGBT本体损坏隐患、设备损坏隐患以及客户验收不达标”等诸多问题的发生。


