授权公布号:CN110995113B
一种电压等级可拓展的级联式防爆变频器
有效
申请
2019-12-20
申请公布
2020-04-10
授权
2023-05-26
预估到期
2039-12-20
| 申请号 | CN201911329298.X |
| 申请日 | 2019-12-20 |
| 申请公布号 | CN110995113A |
| 申请公布日 | 2020-04-10 |
| 授权公布号 | CN110995113B |
| 授权公告日 | 2023-05-26 |
| 分类号 | H02P27/04;H02M5/34 |
| 分类 | 发电、变电或配电; |
| 申请人名称 | 新风光电子科技股份有限公司 |
| 申请人地址 | 山东省济宁市汶上县经济开发区金成路中段路北 |
专利法律状态
2023-05-26
授权
状态信息
授权
2020-04-10
公布
状态信息
公布
摘要
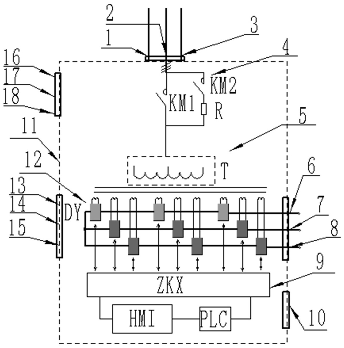
本发明的电压等级可拓展的级联式防爆变频器,包括一个或一个以上的防爆变频器;防爆变频器由防爆壳体及设置于防爆壳体中的缓冲回路、移相变压器、级联单元和可拓展型控制器组成,防爆壳体上设置有输入电缆连接器、输出电缆连接器、预留级联电缆连接器、预留电源电缆连接器和拓展用信号接口。本发明的级联式防爆变频器,可根据矿用生产设备的功率,选取1个、2个或者2个以上的防爆变频器进行级联,可形成3.3kV、6kV或10kV电压等级输出的变频器,解决了利用变频器加升压变压器所导致的损耗增加和无法全频段调节的技术问题,以及高压防爆变频器中注塑型移相变压器副边绕组组别少的问题,最终实现单元串联多电平技术在防爆变频器产品中的拓展应用。


