授权公布号:CN218590392U
一种防漏料的高效三维混料机
有效
申请
2022-10-28
申请公布
1970-01-01
授权
2023-03-10
预估到期
2032-10-28
| 申请号 | CN202222868249.7 |
| 申请日 | 2022-10-28 |
| 授权公布号 | CN218590392U |
| 授权公告日 | 2023-03-10 |
| 分类号 | B01F35/00;B01F101/06N |
| 分类 | 一般的物理或化学的方法或装置; |
| 申请人名称 | 辽宁中科生物工程股份有限公司 |
| 申请人地址 | 辽宁省本溪市本溪经济技术开发区生物医药产业园区香槐路89号 |
专利法律状态
2023-03-10
授权
状态信息
授权
摘要
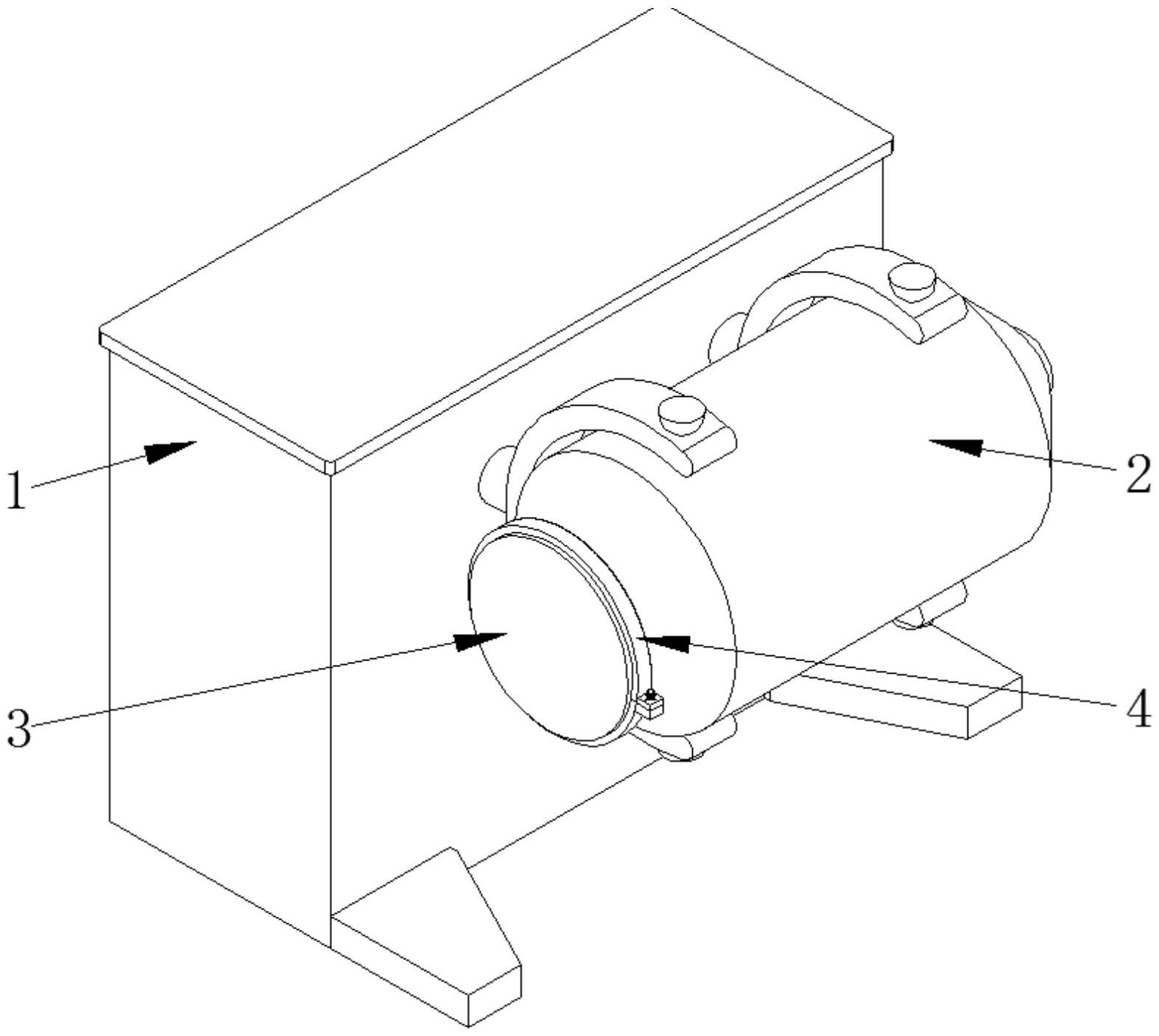
本实用新型公开了一种防漏料的高效三维混料机,包括混料机本体、混料桶、密封盖、密封圈、第一连接件、第二连接件、通孔、圆槽、凸块、圆块、凹槽、圆杆和固定圈,混料桶设置于混料机本体的前侧,混料桶与混料机本体配合使用,密封盖通过螺纹连接于混料桶的一端,所密封圈套设于密封盖的表面且与混料桶接触,第一连接件连接于密封圈一端的外侧,第二连接件连接于密封圈另一端的外侧。本实用新型解决了现有的混料机密封机构较为复杂,不便对混料桶进行密封,在操作时若混料桶的盖板没有闭合严实,便会出现原料从混料桶的内部渗漏出来,而由此会出现原料飞溅且污染车间环境的情况,因此会给使用者的工作带来影响的问题。


