授权公布号:CN213294684U
一种制氧机用空气净化装置
有效
申请
2020-08-25
申请公布
1970-01-01
授权
2021-05-28
预估到期
2030-08-25
| 申请号 | CN202021786385.6 |
| 申请日 | 2020-08-25 |
| 授权公布号 | CN213294684U |
| 授权公告日 | 2021-05-28 |
| 分类号 | C01B13/02;B01D46/10 |
| 分类 | 无机化学; |
| 申请人名称 | 江苏双盛医疗器械有限公司 |
| 申请人地址 | 江苏省镇江市丹阳市丹东工业园(陵口122省道工业集中区12号) |
专利法律状态
2021-05-28
授权
状态信息
授权
摘要
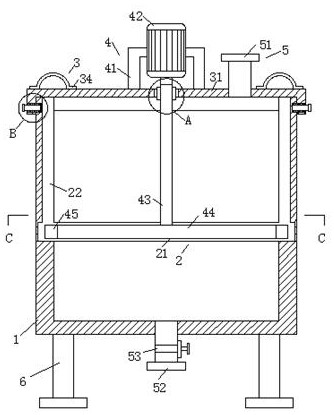
本实用新型公开了一种制氧机用空气净化装置,包括一个上端呈开口状设置的制氧箱,所述制氧箱内设有一个安装机构,所述制氧箱上端设有一个开合机构,所述开合机构上端设有一个驱动机构,所述制氧箱外部设有一个进出机构,所述安装机构包括一个环形槽,所述环形槽开设在制氧箱靠近中部位置的内箱壁上,本实用新型的有益效果是:通过设置滑槽方便滑块带动过滤板在制氧箱中拆卸更换,便于快速拆卸,通过设置环形槽和驱动电机方便在转杆和滑块的滑动作用下带动过滤板快速转动,进而提高过滤板的过滤效果,通过设置螺栓和螺纹孔方便快速对密封盖进行安装,增加制氧箱的密封性的同时便于拆卸,使用方便,净化速度快。


