授权公布号:CN213303635U
一种制氧机排气消音装置
有效
申请
2020-08-25
申请公布
1970-01-01
授权
2021-05-28
预估到期
2030-08-25
| 申请号 | CN202021785847.2 |
| 申请日 | 2020-08-25 |
| 授权公布号 | CN213303635U |
| 授权公告日 | 2021-05-28 |
| 分类号 | G10K11/162;C01B13/02 |
| 分类 | 乐器;声学; |
| 申请人名称 | 江苏双盛医疗器械有限公司 |
| 申请人地址 | 江苏省镇江市丹阳市丹东工业园(陵口122省道工业集中区12号) |
专利法律状态
2021-05-28
授权
状态信息
授权
摘要
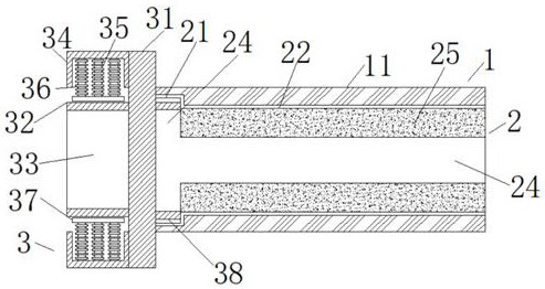
本实用新型公开了一种制氧机排气消音装置,包括一个管体机构,管体机构内侧卡接有一个消音机构,消音机构内侧螺纹连接有一个连接机构,本实用新型的有益效果是:在使用时,将内管插入到排气管内侧,再通过弹簧和伸缩杆反作用力使夹持块将排气管夹持住,使连接管与排气管固定好,再通过转动固定管,使螺纹槽与螺纹管螺纹连接,将固定管固定在连接管一端并带动消音管固定在连接管一端,再通过将管体套在消音管一侧,使固定管卡在卡槽内,使管体保护好消音管,再通过气体排出时,通过消音棉将噪音吸收,有效的实现了现有的制氧机排气时,有消音装置对排出气体时所产生的噪音进行吸收,同时便于安装到制氧机的排气管上,安装更加的方便。


