授权公布号:CN219689336U
一种便于流量调节的制氧机
有效
申请
2023-05-16
申请公布
1970-01-01
授权
2023-09-15
预估到期
2033-05-16
| 申请号 | CN202321173099.6 |
| 申请日 | 2023-05-16 |
| 授权公布号 | CN219689336U |
| 授权公告日 | 2023-09-15 |
| 分类号 | C01B13/02 |
| 分类 | 无机化学; |
| 申请人名称 | 江苏双盛医疗器械有限公司 |
| 申请人地址 | 江苏省镇江市丹阳市丹东工业园(陵口122省道工业集中区12号) |
专利法律状态
2023-09-15
授权
状态信息
授权
摘要
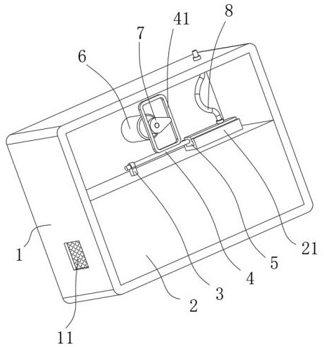
本实用新型公开了一种便于流量调节的制氧机,涉及制氧机技术领域。本实用新型包括制氧箱,制氧箱内侧的底部固定连接有内箱体,内箱体的内部从左到右依次固定安设有气泵、空压机、分子筛和氧气储存罐,内箱体上方的制氧箱的内部设置有氧气流量调节机构,氧气流量调节机构包括导向滑杆、活动滑座、伺服电机和凸轮,导向滑杆的一端与活动滑座的侧壁固定连接,活动滑座沿着内箱体顶部设置的导轨滑动,导向滑杆的顶部设置有矩形环状导向框,凸轮套接固定在伺服电机的转动端上。本实用新型通过在该制氧机的内部设置氧气流量调节机构,能够通过调节伺服电机的角速度,来对制氧机的氧气流量进行自动的调节,使得制氧机的供氧能够更加的精准。


