授权公布号:CN213294679U
一种具有防护结构的制氧机
有效
申请
2020-08-18
申请公布
1970-01-01
授权
2021-05-28
预估到期
2030-08-18
| 申请号 | CN202021716038.6 |
| 申请日 | 2020-08-18 |
| 授权公布号 | CN213294679U |
| 授权公告日 | 2021-05-28 |
| 分类号 | C01B13/02;F16M3/00 |
| 分类 | 无机化学; |
| 申请人名称 | 江苏双盛医疗器械有限公司 |
| 申请人地址 | 江苏省镇江市丹阳市丹东工业园(陵口122省道工业集中区12号) |
专利法律状态
2021-05-28
授权
状态信息
授权
摘要
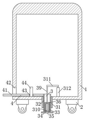
本实用新型公开了一种具有防护结构的制氧机,括外壳,外壳的下表面四角处均固定连接有万向轮,外壳的下表面设置有固定机构,固定机构的侧壁上设置有升降机构,固定机构包括套筒,套筒固定套接在外壳的底部内壁上,套筒的内部活动套接有下移筒,下移筒的内部活动套接有橡胶筒,本实用新型的有益效果是:通过设置的踏板带动下移筒下移,进而通过下移筒推动橡胶圆板下移,使的橡胶圆板与地面接触,然后启动气缸,通过气缸推动连杆移动,连杆带动插杆上移,插杆带动活塞上移,进而通过活塞使的橡胶筒内部的空气减小,进而使的橡胶圆板吸在地面上,进而使的制氧机的外壳固定在地面上,防止外部撞击使制氧机倾倒,防止制氧机内部受到损伤。


