授权公布号:CN110144676B
刺花机的针板组件结构
有效
申请
2019-06-24
申请公布
2019-08-20
授权
2024-03-08
预估到期
2039-06-24
| 申请号 | CN201910547466.6 |
| 申请日 | 2019-06-24 |
| 申请公布号 | CN110144676A |
| 申请公布日 | 2019-08-20 |
| 授权公布号 | CN110144676B |
| 授权公告日 | 2024-03-08 |
| 分类号 | D04H18/02 |
| 分类 | 编织;花边制作;针织;饰带;非织造布; |
| 申请人名称 | 江苏金龙科技股份有限公司 |
| 申请人地址 | 江苏省苏州市常熟市阳光大道8号 |
专利法律状态
2024-03-08
授权
状态信息
授权
2019-09-13
实质审查的生效
状态信息
实质审查的生效;IPC(主分类):D04H18/02;申请日:20190624
2019-08-20
公布
状态信息
公布
摘要
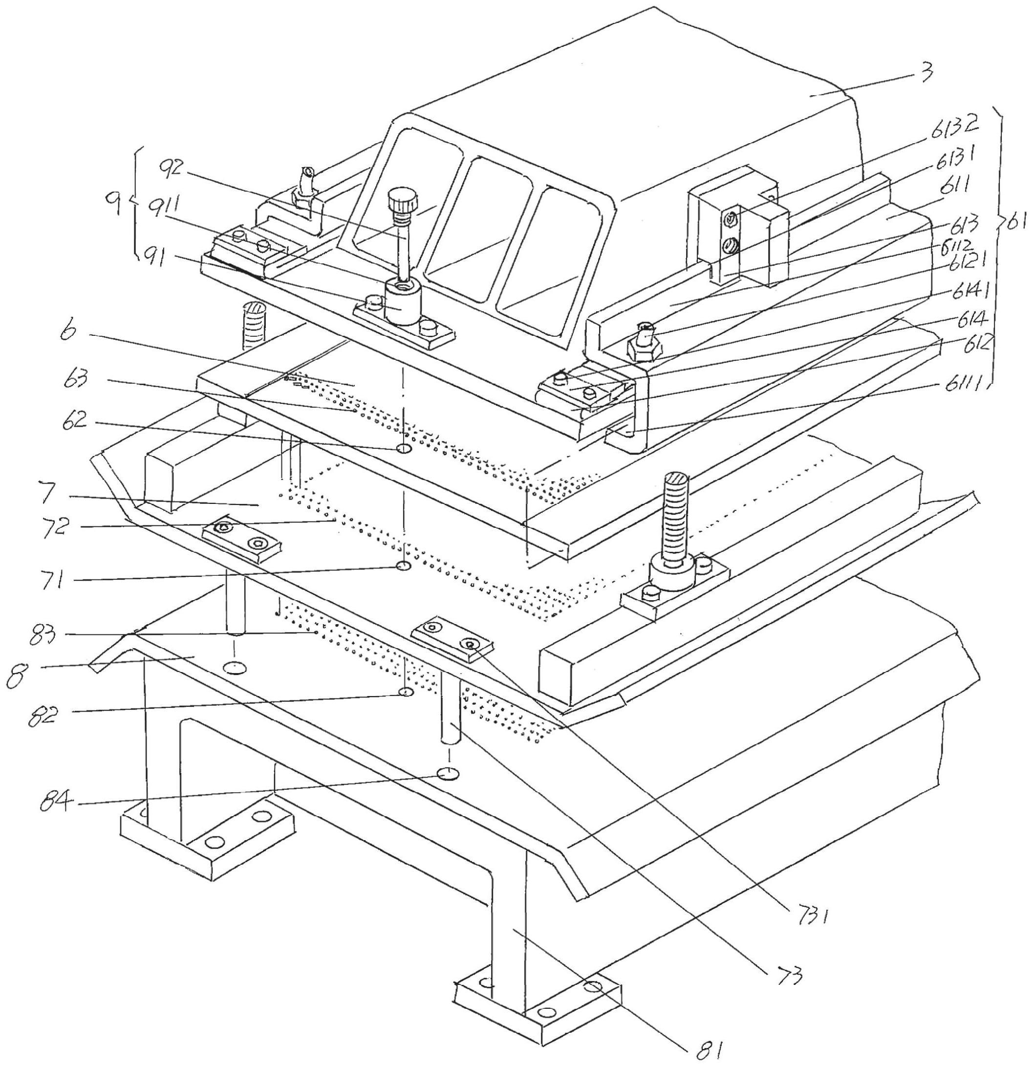
一种刺花机的针板组件结构,属于无纺织机械技术领域。刺花机包括一对机架墙板、设在一对机架墙板的上部之间的曲轴箱、与曲轴箱连接的针梁、位于一对机架墙板之间的剥布板升降调整装置和设在一对机架墙板的下部之间的托布板升降调整装置,针板组件结构包括针板、剥布板和托布板,特点:针板的左端和右端各设针板定位销孔,剥布板的左端和右端各设剥布板定位销孔,托布板的左端和右端各设托布板定位销孔,针梁的左端和右端各设一个对针机构。可由对针机构依次插入针板定位销孔、剥布板定位销孔以及托布板定位销孔便可完成将针板上的刺针孔、剥布板上的剥布板针孔及托布板针孔三者精确对准;缩短对针时间,提高作业效率;减轻作业强度。


