授权公布号:CN211665328U
一种可收纳线架
有效
申请
2019-10-23
申请公布
1970-01-01
授权
2020-10-13
预估到期
2029-10-23
| 申请号 | CN201921782461.3 |
| 申请日 | 2019-10-23 |
| 授权公布号 | CN211665328U |
| 授权公告日 | 2020-10-13 |
| 分类号 | D05B43/00 |
| 分类 | 缝纫;绣花;簇绒; |
| 申请人名称 | 广东秋鹿实业有限公司 |
| 申请人地址 | 广东省广州市白云区江高镇秋鹿路2号 |
专利法律状态
2020-10-13
授权
状态信息
授权
摘要
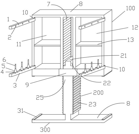
一种可收纳线架包括底座,支撑部和收纳部,所述支撑部竖直连接于所述底座上,所述收纳部与所述支撑部接触,所述收纳部包括,第一放置架和第二放置架,所述收纳部还包括线架结构、连接板和凹滑动板,所述线架结构与所述第一放置架和第二放置架铰接,所述凹滑动板分别设置在第一放置架和第二放置架相对一侧的侧壁上,所述第一放置架和第二放置架通过所述连接板固定连接;所述支撑部包括盖板、弹簧、对称设置的挤压按板和对称设置的凸滑动板,该装置可以升降折叠减小线架所占用的空间,同时具有收纳功能,对缝纫工作台上的杂物进行收纳存放,使桌面整洁,从而提升工作效率。


