授权公布号:CN211726241U
一种气雾剂瓶身表面喷涂装置
有效
申请
2019-12-31
申请公布
1970-01-01
授权
2020-10-23
预估到期
2029-12-31
| 申请号 | CN201922498317.3 |
| 申请日 | 2019-12-31 |
| 授权公布号 | CN211726241U |
| 授权公告日 | 2020-10-23 |
| 分类号 | B05B9/04;B05B13/02 |
| 分类 | 一般喷射或雾化;对表面涂覆液体或其他流体的一般方法〔2〕; |
| 申请人名称 | 广东黑旋风日用制品有限公司 |
| 申请人地址 | 广东省佛山市高明区沧江工业园合水园区 |
专利法律状态
2020-10-23
授权
状态信息
授权
摘要
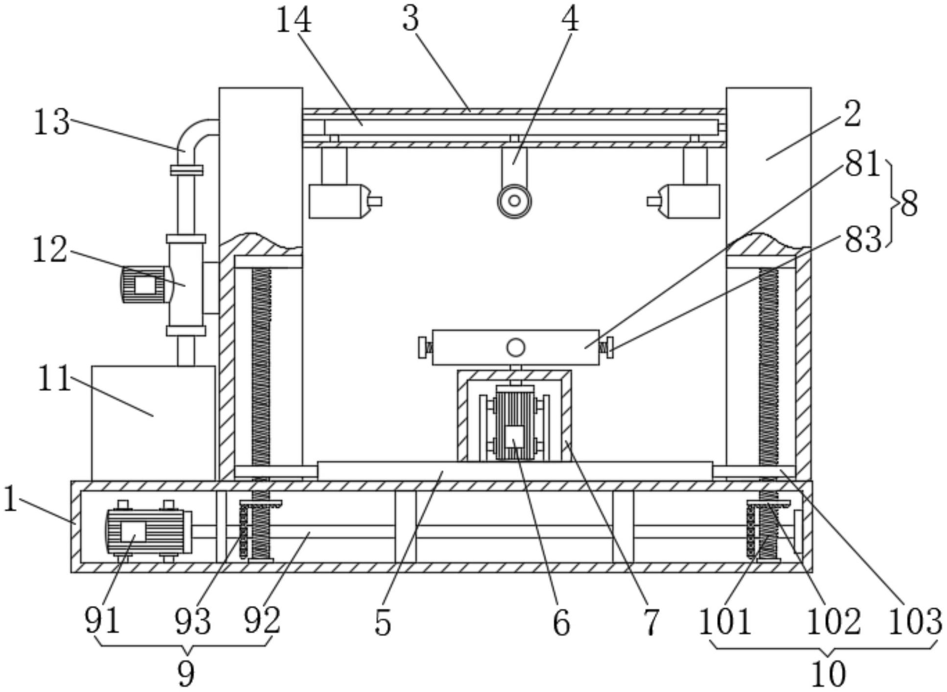
本实用新型涉及气雾剂生产技术领域,且公开了一种气雾剂瓶身表面喷涂装置,包括底座、竖向支架、环形支架和喷嘴,所述竖向支架的数量为两个并分别栓接在底座顶部的左右两侧,所述环形支架的左右两侧分别与竖向支架相对一侧的表面栓接,所述喷嘴安装在环形支架的底部,所述底座顶部的上方且位于两个竖向支架之间设置有升降台;本实用新型可进行多角度同步喷涂,且能对瓶身进行有效固定和转动调节,使得喷涂范围更广,且喷涂均匀,解决了在使用单个喷枪对钢瓶的表面进行喷涂时,效率较为低下,而且通过移动喷枪进行喷涂容易造成瓶身表面喷涂不均匀,影响其表面美观的问题,提高了该装置的实用性。


