授权公布号:CN211733830U
一种气雾剂灌装用输送装置
有效
申请
2019-12-31
申请公布
1970-01-01
授权
2020-10-23
预估到期
2029-12-31
| 申请号 | CN201922497933.7 |
| 申请日 | 2019-12-31 |
| 授权公布号 | CN211733830U |
| 授权公告日 | 2020-10-23 |
| 分类号 | B67C3/26;B67C3/24 |
| 分类 | 开启或封闭瓶子、罐或类似的容器;液体的贮运; |
| 申请人名称 | 广东黑旋风日用制品有限公司 |
| 申请人地址 | 广东省佛山市高明区沧江工业园合水园区 |
专利法律状态
2020-10-23
授权
状态信息
授权
摘要
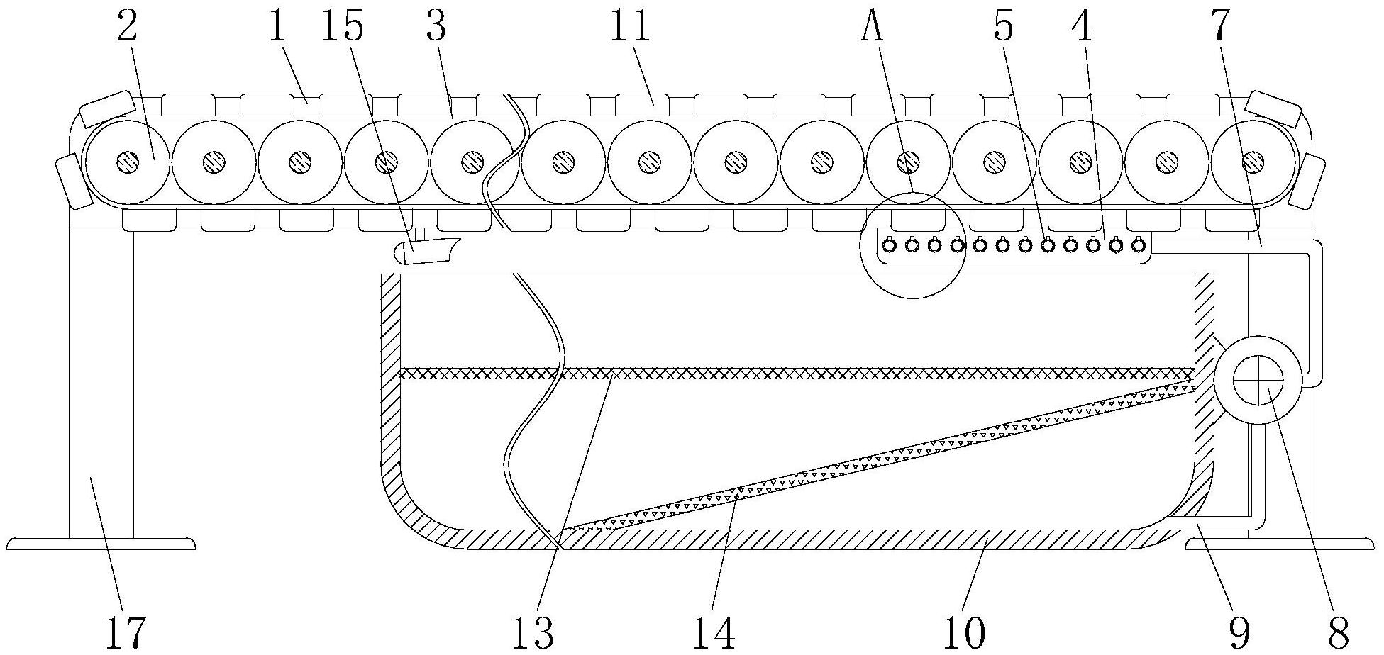
本实用新型涉及灌装技术领域,且公开了一种气雾剂灌装用输送装置,包括输送架、输送辊和输送带,所述输送辊的两端与输送架内部的孔洞转动连接,所述输送辊的表面与输送带的内侧设置,所述输送架底部右侧的前端和后端均栓接有连通管件,所述连通管件的内侧之间连通有清洗管,所述清洗管的顶部连通有加压喷嘴,所述连通管件的右侧连通有进水管,所述进水管远离连通管件的一端连通有水泵,所述水泵的进水端连通有抽水管;本实用新型具备既能对传送带进行清洗,也能减少转运步骤的优点,解决了目前的输送装置在灌装过程中容易被灌装的液体污染,而且传送带没有将待灌装瓶限位的部件,需要转运到灌装机专用输送带上的问题。


