授权公布号:CN216290833U
一种适用于户用的双面反射支架系统
有效
申请
2021-11-22
申请公布
1970-01-01
授权
2022-04-12
预估到期
2031-11-22
| 申请号 | CN202122874611.7 |
| 申请日 | 2021-11-22 |
| 授权公布号 | CN216290833U |
| 授权公告日 | 2022-04-12 |
| 分类号 | H02S40/22;H02S20/00 |
| 分类 | 发电、变电或配电; |
| 申请人名称 | 乐山市东川机械有限公司 |
| 申请人地址 | 四川省乐山市五通桥区杨柳镇乐山市东川机械有限公司 |
专利法律状态
2022-04-12
授权
状态信息
授权
摘要
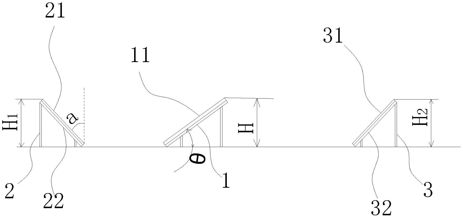
本实用新型是提供一种适用于户用的双面反射支架系统,以提高光伏系统性价比,减少用户投资,涉及光伏发电技术领域。一种适用于户用的双面反射支架系统,包括主支架、正面反射支架和背面反射支架;所述主支架上安装有相对于水平方向倾斜设置的双面光伏组件,所述正面反射支架上安装有向双面光伏组件的正面反射光线的第一反射层,所述背面反射支架上安装有向双面光伏组件的背面反射光线的第二反射层;所述第一反射层、双面光伏组件、双面光伏组件沿同一水平线依次间隔排布。本实用新型提升了户用用户的投资积极性。


