授权公布号:CN206866046U
一种花生摘果机清选装置
有效
申请
2017-06-28
申请公布
1970-01-01
授权
2018-01-12
预估到期
2027-06-28
| 申请号 | CN201720760997.X |
| 申请日 | 2017-06-28 |
| 授权公布号 | CN206866046U |
| 授权公告日 | 2018-01-12 |
| 分类号 | A01D29/00;A01D33/08 |
| 分类 | 农业;林业;畜牧业;狩猎;诱捕;捕鱼; |
| 申请人名称 | 河南瑞锋机械有限公司 |
| 申请人地址 | 河南省新乡市获嘉县产业集聚区西一路南头东侧 |
专利法律状态
2018-05-04
专利权人的姓名或者名称、地址的变更
状态信息
专利权人的姓名或者名称、地址的变更;IPC(主分类):A01D 29/00;专利号:ZL201720760997X;变更事项:专利权人;变更前:河南瑞锋机械有限公司;变更后:河南瑞锋机械有限公司;变更事项:地址;变更前:453800 河南省新乡市获嘉县火车站西南角200米;变更后:453800 河南省新乡市获嘉县产业集聚区西一路南头东侧
2018-01-12
实用新型专利权授予
状态信息
授权
摘要
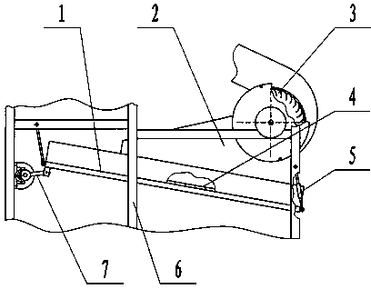
本实用新型公开了花生摘果机清选装置,它包括机架上安装的一个振动筛筛架,在筛架内前边用曲柄连杆、后边用摆动连杆安装有一个前高后低带框的花生果筛板,在筛板板面上前方设有一段接料区,在接料区后面设有吸风区,在吸风区上面的机架上安装有一个横流风机,在横流风机外壳上向吸风区离筛面10‑20厘米安装有一个吸风罩,在筛板的吸风区内设有均布的筛孔。筛孔的形状呈圆形、方形或两端呈圆弧过渡的长条形。在摆动连杆上设有长度调节机构。本实用新型具有以下优点:1、一次性清选分离,省去了二次回收处理装置,降低了成本;2、花生果损失少,提高了清选分离效果;3、用一个横流风机代替两个离心风机,降低了能耗,减少了空气污染。


