授权公布号:CN211734755U
一种吸线头机
有效
申请
2019-10-23
申请公布
1970-01-01
授权
2020-10-23
预估到期
2029-10-23
| 申请号 | CN201921782147.5 |
| 申请日 | 2019-10-23 |
| 授权公布号 | CN211734755U |
| 授权公告日 | 2020-10-23 |
| 分类号 | D06C13/06;D06G1/00 |
| 分类 | 织物等的处理;洗涤;其他类不包括的柔性材料; |
| 申请人名称 | 广东秋鹿实业有限公司 |
| 申请人地址 | 广东省广州市白云区江高镇秋鹿路2号 |
专利法律状态
2020-10-23
授权
状态信息
授权
摘要
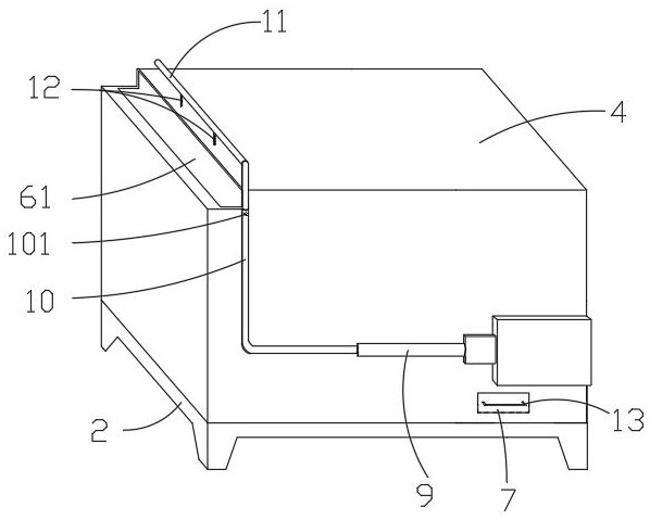
本实用新型涉及纺织设备的技术领域,具体涉及一种吸线头机,包括箱体、移动部和工作台,所述工作台设置在箱体上方,所述移动部设置在箱体一侧,所述移动部包括动力装置、升降杆和滑杆,所述动力装置设置在所述箱体一侧,所述升降杆一端竖直连接于所述动力装置,所述滑杆与所述升降杆垂直连接,所述滑杆上设有竖直向下的夹子。本实用新型提供的一种吸线头机通过在箱体上设置工作台,使工人在吸线工作的过程中,不需要再将处理好的纺织品移到额外的桌子上进行整理,而在工作台上直接整理,节省了有限的工作空间。本实用新型还可提高了工作效率。


