授权公布号:CN110000548B
一种堵头的自动装配系统和装配方法
有效
申请
2019-05-29
申请公布
2019-07-12
授权
2024-03-05
预估到期
2039-05-29
| 申请号 | CN201910455830.6 |
| 申请日 | 2019-05-29 |
| 申请公布号 | CN110000548A |
| 申请公布日 | 2019-07-12 |
| 授权公布号 | CN110000548B |
| 授权公告日 | 2024-03-05 |
| 分类号 | B23P19/027;B21D41/02 |
| 分类 | 机床;不包含在其他类目中的金属加工; |
| 申请人名称 | 湖北国炬智能农业装备股份有限公司 |
| 申请人地址 | 湖北省宜昌市夷陵区龙泉镇龙泉村三组 |
专利法律状态
2024-03-05
授权
状态信息
授权
2024-02-13
著录事项变更
状态信息
著录事项变更;IPC(主分类):B23P19/027;变更事项:申请人;变更前:湖北国炬农业机械科技股份有限公司;变更后:湖北国炬智能农业装备股份有限公司;变更事项:国家或地区;变更前:中国;变更后:中国;变更事项:地址;变更前:443100 湖北省宜昌市夷陵区龙泉镇跑马岗村1组;变更后:443100 湖北省宜昌市夷陵区龙泉镇龙泉村三组
2019-08-06
实质审查的生效
状态信息
实质审查的生效;IPC(主分类):B23P19/027;申请日:20190529
2019-07-12
公布
状态信息
公布
摘要
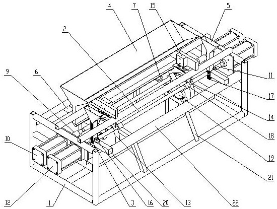
本发明公开了一种堵头的自动装配系统和装配方法,属于自动化技术领域。该系统包括机架及其上的出料装置、两个装配装置和钢管送料装置;装配装置包括堵头下料结构、分度卡盘、卡盘压板、扩孔冲头和装配冲头;分度卡盘上均匀设有四个卡口,其每次向前旋转90°,其上侧后部的卡口与上侧前部的卡口分别为扩孔工位与装配工位;扩孔工位与装配工位上的钢管均沿左右向设置并由卡盘压板夹紧;两个扩孔冲头分别位于扩孔工位上的钢管的左右两侧且与钢管同轴;两个装配冲头分别位于装配工位上的钢管的左右两侧且与钢管同轴;两个分度卡盘同步驱动,扩孔气缸和装配气缸同步驱动。可自动化实现堵头的装配,具有省时省力、效率高和产品统一等优点。


