授权公布号:CN218184566U
一种可适应不同体型宠物猫的猫砂机
有效
申请
2022-08-03
申请公布
1970-01-01
授权
2023-01-03
预估到期
2032-08-03
| 申请号 | CN202222040489.8 |
| 申请日 | 2022-08-03 |
| 授权公布号 | CN218184566U |
| 授权公告日 | 2023-01-03 |
| 分类号 | A01K1/01 |
| 分类 | 农业;林业;畜牧业;狩猎;诱捕;捕鱼; |
| 申请人名称 | 佛山市顺德区奥格威电器制造有限公司 |
| 申请人地址 | 广东省佛山市顺德区北滘镇顺江社区三乐东路21号(住所申报) |
专利法律状态
2023-01-03
授权
状态信息
授权
摘要
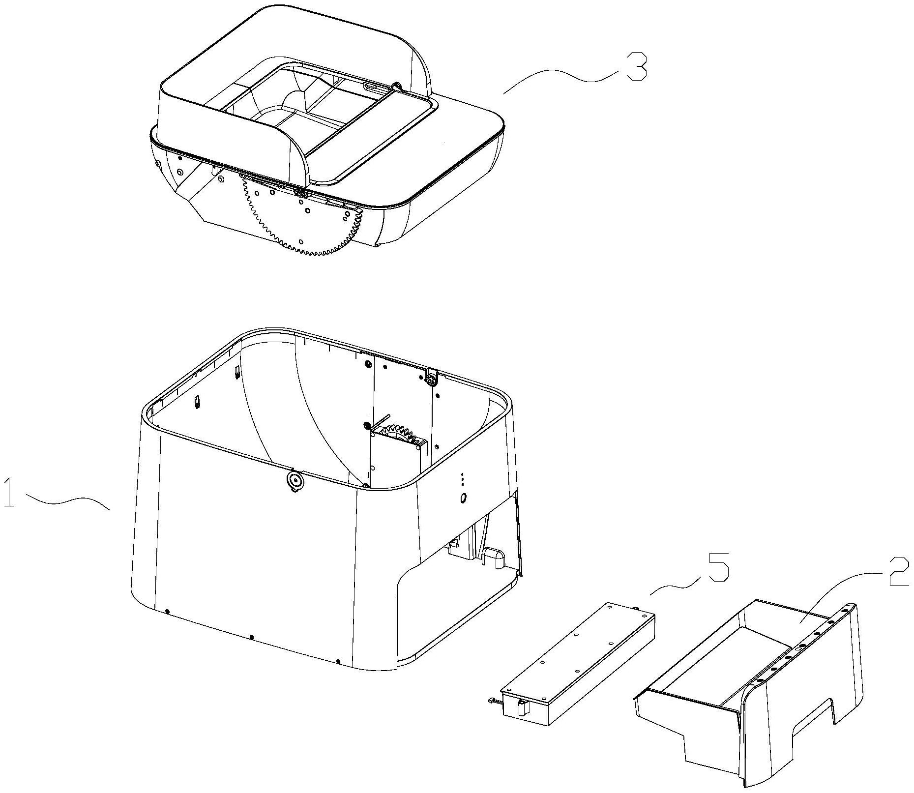
本实用新型公开了一种可适应不同体型宠物猫的猫砂机,包括壳体、排泄物收集盒、猫砂盆以及驱动组件,该壳体包括具有顶部第一开口的第一容置腔,该排泄物收集盒设置在第一容置腔内;该猫砂盆转动连接在第一容置腔的顶部位置且可将第一开口密封;该猫砂盆包括座体、设置在座体上且用于存放猫砂的第一凹腔以及盖合在座体顶部的盖板;该盖板上开设有连通第一凹腔且可供宠物猫进出的第二开口;该驱动组件可驱动猫砂盆相对壳体转动以将排泄物掉落至排泄物收集盒中。本实用新型的猫砂机,其不仅可以适配大部分体型的宠物猫,且能够将排泄物的气味密封在猫砂机内,实用性强。


