授权公布号:CN218978581U
一种榨汁机
有效
申请
2022-09-29
申请公布
1970-01-01
授权
2023-05-09
预估到期
2032-09-29
| 申请号 | CN202222604937.2 |
| 申请日 | 2022-09-29 |
| 授权公布号 | CN218978581U |
| 授权公告日 | 2023-05-09 |
| 分类号 | A47J19/02 |
| 分类 | 家具;家庭用的物品或设备;咖啡磨;香料磨;一般吸尘器; |
| 申请人名称 | 深圳市联创三金电器有限公司 |
| 申请人地址 | 广东省深圳市龙岗区南湾街道下李朗社区布澜路21号联创科技园14栋厂房101、3楼 |
专利法律状态
2023-05-09
授权
状态信息
授权
摘要
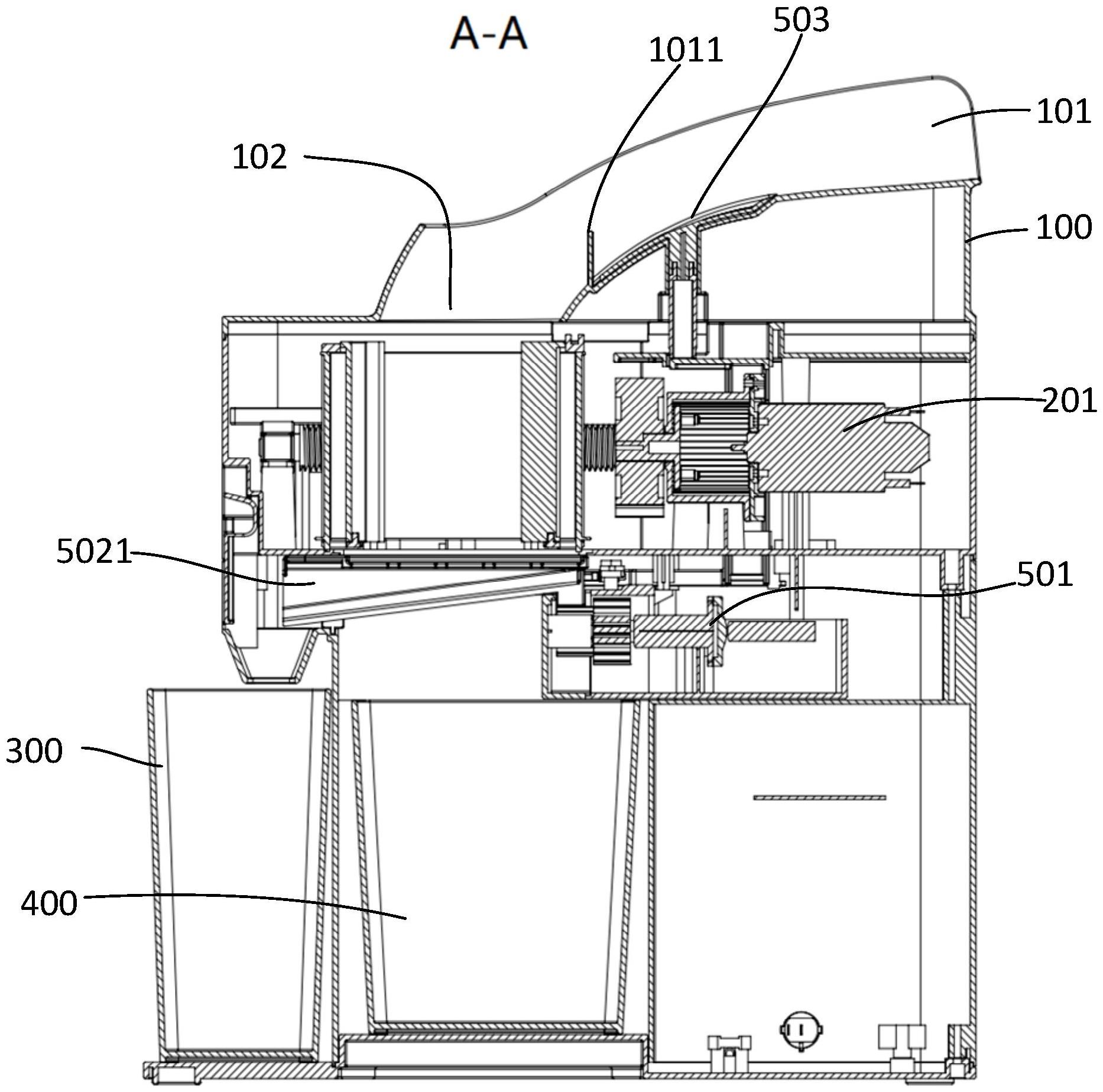
本实用新型涉及家电设备领域,公开了榨汁机,其用于将水果进行榨汁,该榨汁机包括机体以及安装机体内的用于榨汁的挤压机构、用于收集汁水的第一容器、用于收集果渣的第二容器、进出料机构和控制模块,控制模块分别与挤压机构以及进出料机构电性连接,机体上设有进料通道,进料通道的端部设有接通机体内的进料口,进出料机构包括与控制模块电性连接的第一驱动件、与第一驱动件驱动连接的置料台以及送料件,送料件的第一端与置料台驱动连接,送料件的第二端可伸出至进料通道外,实现对整个水果进行榨汁,且榨汁后的果汁以及果渣能够自动分离开,操作简单便利。


