授权公布号:CN211466737U
一种木工车床用机头结构
有效
申请
2020-01-06
申请公布
1970-01-01
授权
2020-09-11
预估到期
2030-01-06
| 申请号 | CN202020016821.5 |
| 申请日 | 2020-01-06 |
| 授权公布号 | CN211466737U |
| 授权公告日 | 2020-09-11 |
| 分类号 | B27C7/00 |
| 分类 | 木材或类似材料的加工或保存;一般钉钉机或钉U形钉机; |
| 申请人名称 | 冀发集团有限公司 |
| 申请人地址 | 浙江省金华市东阳市南马镇江南工业园区 |
专利法律状态
2020-09-11
授权
状态信息
授权
摘要
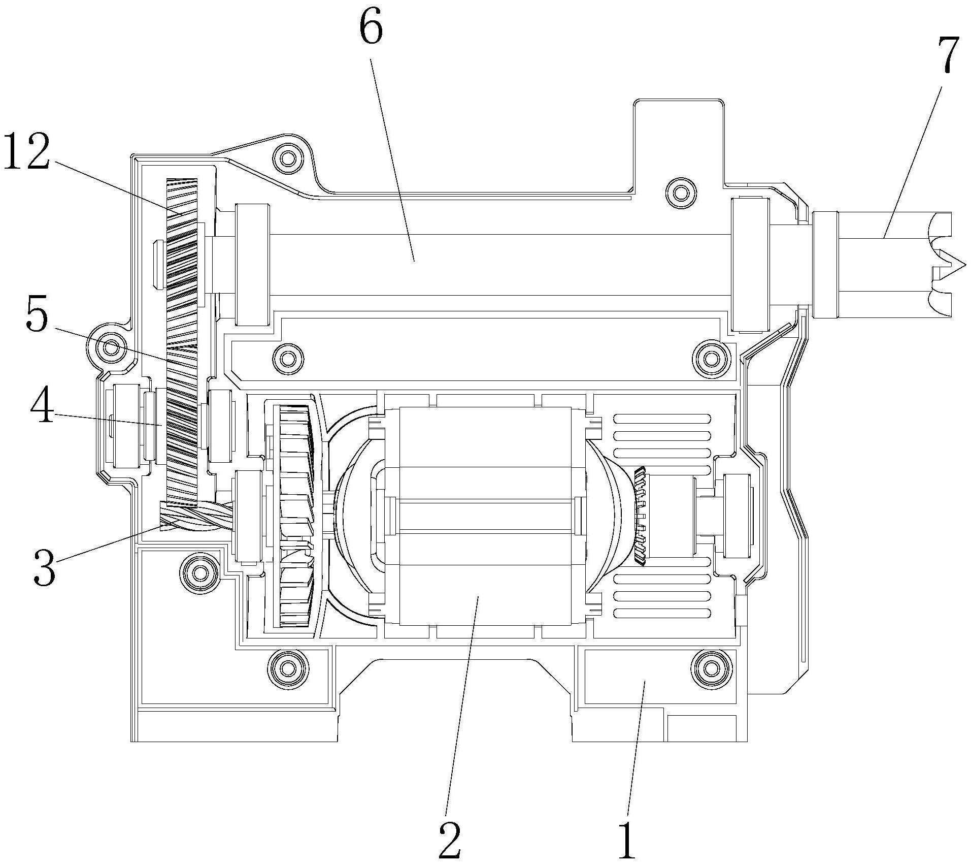
本实用新型公开了属于木工车床技术领域的一种木工车床用机头结构,包括机壳,机壳的内部设有电机,电机的输出端设有转子齿轮,机壳的内部位于电机的上方转动连接有主轴,电机的一侧设有与转子齿轮啮合连接的过渡齿轮,主轴的输入端连接有与过渡齿轮啮合连接的主轴齿轮。本实用新型通过过渡齿轮或过渡齿轮与连接齿轮配合连接电机与主轴,实现了车床最大车削能力的同时又不会影响主轴的输出转速;本实用新型不会增大壳体的高度,从而使壳体占用的空间小,整体美观性好,并且生产成本低。


