授权公布号:CN210385788U
一种用于聚醚生产的保温加热供料装置
有效
申请
2019-07-22
申请公布
1970-01-01
授权
2020-04-24
预估到期
2029-07-22
| 申请号 | CN201921156578.0 |
| 申请日 | 2019-07-22 |
| 授权公布号 | CN210385788U |
| 授权公告日 | 2020-04-24 |
| 分类号 | B01J4/00 |
| 分类 | 一般的物理或化学的方法或装置; |
| 申请人名称 | 浙江永杰汽车电子有限公司 |
| 申请人地址 | 浙江省绍兴市柯桥区柯桥经济开发区曙光路 |
专利法律状态
2020-04-24
授权
状态信息
授权
摘要
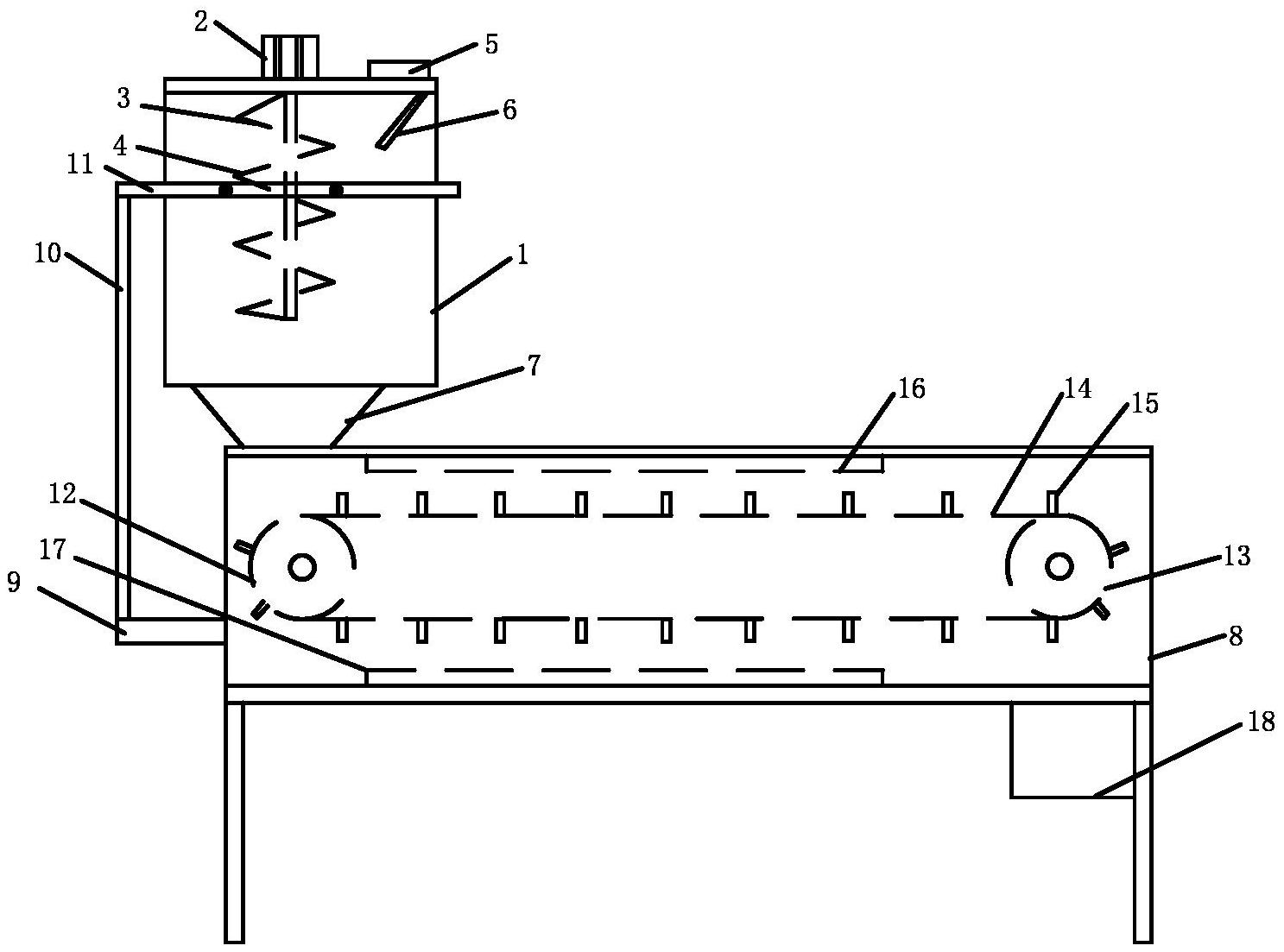
本实用新型提供一种用于聚醚生产的保温加热供料装置,包括搅拌机构和加热机构,所述的搅拌机构包括搅拌箱,所述的搅拌箱顶壁上表面设有搅拌电机,所述的搅拌电机的输出轴穿过搅拌箱顶壁上的搅拌穿孔,且与搅拌轴相连,所述的搅拌轴上设有螺旋搅拌叶,所述的加热机构包括加热箱,所述的加热箱内设有传送机构,所述的传送机构包括左传送辊、右传送辊和传送带。本实用新型的有益效果是:螺旋搅拌叶能够对注入到搅拌箱内的固体原料进行充分搅拌,方便使用,加热箱能够将原料进行充分加热,使原料与催化剂更好地融合入在一起,提高聚醚的生产质量;且实现了自动对加料罐内进行加料,对加热后的原料进行保温的作用。


