授权公布号:CN209493696U
一种缝纫机勾盘
有效
申请
2018-11-14
申请公布
1970-01-01
授权
2019-10-15
预估到期
2028-11-14
| 申请号 | CN201821874182.5 |
| 申请日 | 2018-11-14 |
| 授权公布号 | CN209493696U |
| 授权公告日 | 2019-10-15 |
| 分类号 | D05B57/26 |
| 分类 | 缝纫;绣花;簇绒; |
| 申请人名称 | 佛山市友立佳电器有限公司 |
| 申请人地址 | 广东省佛山市南海区狮山镇松夏工业园长盛路 |
专利法律状态
2019-10-15
授权
状态信息
授权
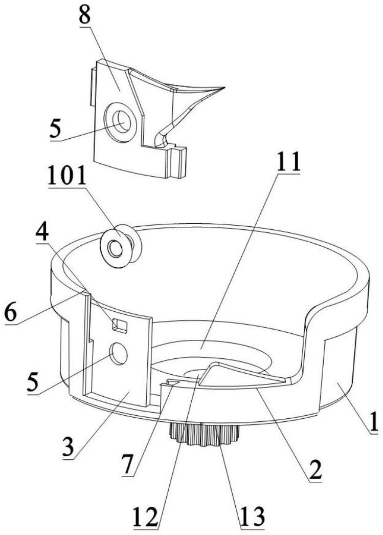
摘要
本实用新型公开了一种缝纫机勾盘,缺口的一端固定连接有采用弹性材质的连接板;连接板上具有卡扣槽,连接板上还设有铆钉通孔;连接板与底座连接处设有第一燕尾槽;缺口的另一端呈倒“L”型并在水平高度较低的一端设有第二燕尾槽;铆钉通孔铆钉铆接勾线端部。本实用新型采用弹性材质的连接板相比于传统设备采用的金属板具有原材料易获得,降低生产成本和方便更换的优势,同时弹性材质容易与勾线端部连接和拆卸,方便维修和更换。


