授权公布号:CN219206692U
一种电热毛巾架
有效
申请
2022-09-26
申请公布
1970-01-01
授权
2023-06-20
预估到期
2032-09-26
| 申请号 | CN202222555809.3 |
| 申请日 | 2022-09-26 |
| 授权公布号 | CN219206692U |
| 授权公告日 | 2023-06-20 |
| 分类号 | A47K10/06 |
| 分类 | 家具;家庭用的物品或设备;咖啡磨;香料磨;一般吸尘器; |
| 申请人名称 | 广东好太太科技集团股份有限公司 |
| 申请人地址 | 广东省广州市番禺区化龙镇石化路21号之一、之二 |
专利法律状态
2023-06-20
授权
状态信息
授权
摘要
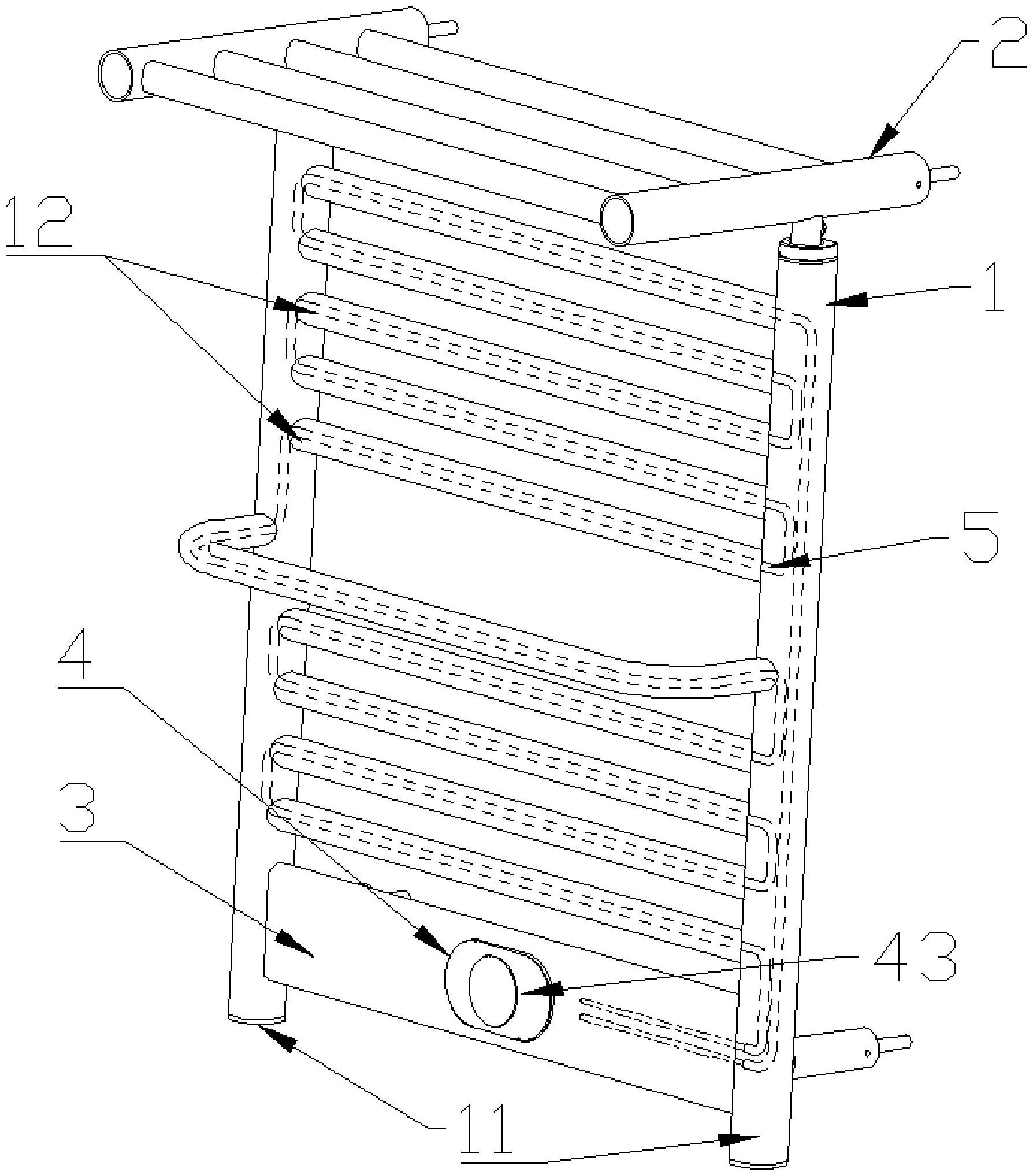
本实用新型涉及一种电热毛巾架,其包括架体以及加热装置;所述架体包括主体部;所述主体部内形成一密闭腔体,所述密闭腔体内填充有导热介质;所述加热装置包括电控组件以及发热管,所述发热管与所述电控组件电性连接,所述发热管设置于所述密闭腔体内。所述导热介质能够均匀且高效地将所述发热管工作发出的热量传递至所述主体部,使其整体均匀发热,在悬挂湿毛巾后其发出的热量能够对其均匀进行加热并使毛巾中含有的水分蒸发,实现烘干,烘干均匀且充分,不会出现毛巾局部区域过度烘干而另一区域未干透的情况,确保用户的使用体验,并能避免由于加热不均匀而造成毛巾损坏的问题,且更节约能源,使用成本更低。


