授权公布号:CN103521075B
三通接头
有效
申请
2012-07-05
申请公布
2014-01-22
授权
2015-07-01
预估到期
2032-07-05
| 申请号 | CN201210232012.8 |
| 申请日 | 2012-07-05 |
| 申请公布号 | CN103521075A |
| 申请公布日 | 2014-01-22 |
| 授权公布号 | CN103521075B |
| 授权公告日 | 2015-07-01 |
| 分类号 | B01D63/02;B01D61/18;C02F1/44;F16L41/02 |
| 分类 | 一般的物理或化学的方法或装置; |
| 申请人名称 | 江苏正本净化节水科技实业有限公司 |
| 申请人地址 | 江苏省常州市钟楼开发区松涛路66号 |
专利法律状态
2015-07-01
授权
状态信息
授权
2014-02-26
实质审查的生效
状态信息
实质审查的生效IPC(主分类):B01D 63/02申请日:20120705
2014-01-22
公布
状态信息
公布
摘要
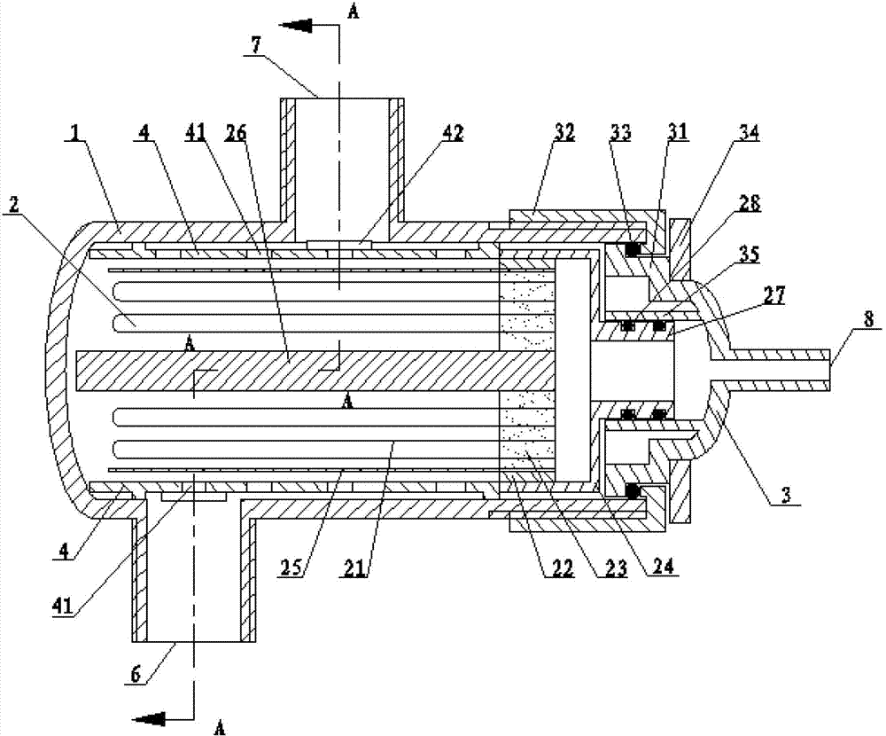
本发明公开了一种三通接头,包括本体、外压式中空纤维超滤组件、密封盖、进水口、排水口和出水口;所述本体呈筒状,且其一端封闭,另一端敞口;所述密封盖与本体的敞口端密封联接;所述进水口和排水口设置在本体的侧部;所述出水口设置在本体或密封盖上;所述外压式中空纤维超滤组件的过滤出水端连通出水口。本发明与净水器配套使用,取代普通进水三通,成本较低,由于其能够对原水进行预过滤,因此对设置在净水器的进水管路中的阀门有较好的保护作用。


