授权公布号:CN104226011B
一种联接结构
有效
申请
2014-07-30
申请公布
2014-12-24
授权
2016-07-06
预估到期
2034-07-30
| 申请号 | CN201410371304.9 |
| 申请日 | 2014-07-30 |
| 申请公布号 | CN104226011A |
| 申请公布日 | 2014-12-24 |
| 授权公布号 | CN104226011B |
| 授权公告日 | 2016-07-06 |
| 分类号 | B01D35/31 |
| 分类 | 一般的物理或化学的方法或装置; |
| 申请人名称 | 江苏正本净化节水科技实业有限公司 |
| 申请人地址 | 江苏省常州市钟楼开发区松涛路66号 |
专利法律状态
2016-07-06
授权
状态信息
授权
2015-01-14
实质审查的生效
状态信息
实质审查的生效IPC(主分类):B01D 35/31申请日:20140730
2014-12-24
公布
状态信息
公布
摘要
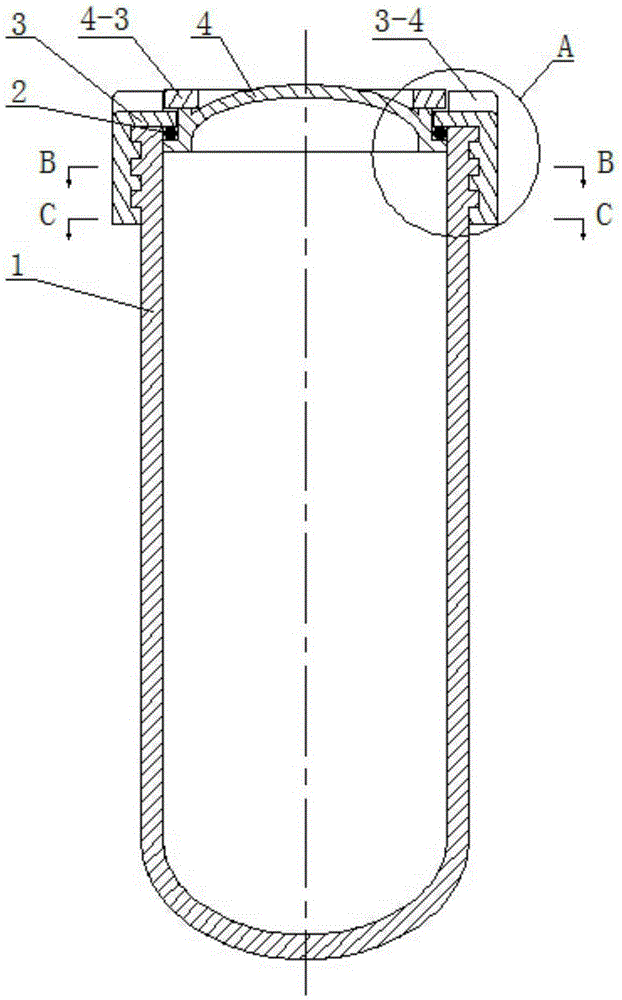
本发明公开了一种联接结构,包括管状壳体、密封圈、固定联接件和端盖;端盖的边缘设有装配在管状壳体内部的圆柱面,圆柱面的端部向外延伸出第一圆环;圆柱面的圆柱轴线与管状壳体的轴线平行,第一圆环所在平面与管状壳体的轴线垂直;固定联接件呈管状,其端部设有向中心轴线内伸的第二圆环;管状壳体的内壁、第二圆环的内壁、圆柱面以及第一圆环的外侧壁共同限定一个环形空间,密封圈设置在该环形空间内;固定联接件的内壁上沿周向均匀设有2~4列第二凸筋;管状壳体端部的外壁设有能够与第二凸筋对应地相互啮合且数量相同的第一凸筋。本发明只要旋转45度、或60度、或90度就能够将两个零件的周向方位旋转到位,大大提高了拆装速度。


