授权公布号:CN215911965U
一种低温空气源热泵机组电机支架装配组件
有效
申请
2021-07-31
申请公布
1970-01-01
授权
2022-02-25
预估到期
2031-07-31
| 申请号 | CN202121768539.3 |
| 申请日 | 2021-07-31 |
| 授权公布号 | CN215911965U |
| 授权公告日 | 2022-02-25 |
| 分类号 | H02K5/00;F25B30/06 |
| 分类 | 发电、变电或配电; |
| 申请人名称 | 山东中科蓝天科技有限公司 |
| 申请人地址 | 山东省枣庄市滕州市经济开发区机械制造工业园奚仲北路888号 |
专利法律状态
2023-10-27
专利权质押合同登记的生效、变更及注销
状态信息
专利权质押合同登记的注销;IPC(主分类):H02K5/00;授权公告日:20220225;申请日:20210731;专利号:ZL2021217685393;登记号:Y2022980016281;出质人:山东中科蓝天科技有限公司;质权人:山东滕州农村商业银行股份有限公司;解除日:20231010
2022-10-18
专利权质押合同登记的生效、变更及注销
状态信息
专利权质押合同登记的生效;IPC(主分类):H02K5/00;登记号:Y2022980016281;登记生效日:20220927;出质人:山东中科蓝天科技有限公司;质权人:山东滕州农村商业银行股份有限公司;实用新型名称:一种低温空气源热泵机组电机支架装配组件;申请日:20210731;授权公告日:20220225
2022-02-25
授权
状态信息
授权
摘要
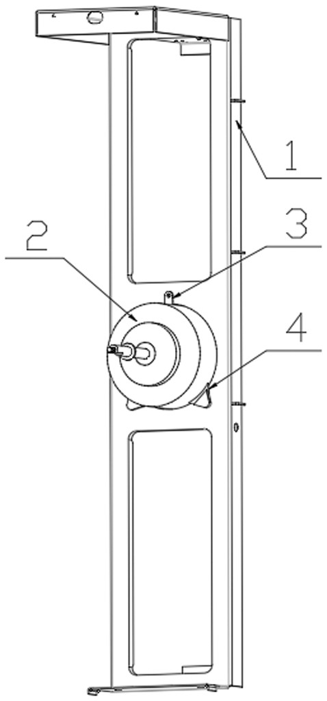
本实用新型公开了一种低温空气源热泵机组电机支架装配组件,具体涉及低温空气源热泵技术领域,包括电机支架和电机,所述电机与电机支架可拆卸连接,所述电机支架包括支架主体,所述电机顶部和底部分别设有上部安装脚和下部安装脚。本实用新型通过在支架主体上设置有避让孔,避让孔上方设有安装定位孔,安装孔和安装定位孔匹配连接,避让孔下方设有卡槽,电机上的下部安装脚与支架卡槽相互卡接,快速连接的卡接结构,实现电机装配的自定位并大幅减少电机使用的螺钉数量,可实现自动化生产线的电机自动化装配,大大提高组装电机支架部件的效率,从而提高低温空气源热泵机组装配效率。


