授权公布号:CN105805562B
一种液体管路溢漏自动检测控制方法
有效
申请
2016-04-06
申请公布
2016-07-27
授权
2018-05-18
预估到期
2036-04-06
| 申请号 | CN201610210296.9 |
| 申请日 | 2016-04-06 |
| 申请公布号 | CN105805562A |
| 申请公布日 | 2016-07-27 |
| 授权公布号 | CN105805562B |
| 授权公告日 | 2018-05-18 |
| 分类号 | F17D5/06 |
| 分类 | 气体或液体的贮存或分配; |
| 申请人名称 | 青岛瑞雪兆散热器有限公司 |
| 申请人地址 | 山东省青岛市崂山区辽阳东路高科园装饰城9号壹楼A-35号 |
专利法律状态
2018-05-18
授权
状态信息
授权
2016-08-24
实质审查的生效
状态信息
实质审查的生效IPC(主分类):F17D 5/06申请日:20160406
2016-07-27
公布
状态信息
公开
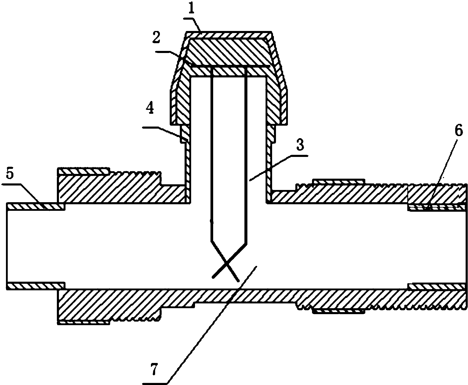
摘要
本发明属于流体溢漏检测技术领域,涉及一种液体管路溢漏自动检测控制方法,首先在暖气片与供暖管道之间安装液体管路溢漏自动检测控制装置,流量传感器实时监测暖气流量参数并上传至控制芯片,控制芯片根据设定指令运算和处理,当判断出供暖管道发生泄漏时,控制芯片自动控制阀门闭合,减少暖气用户的损失,暖气用户根据取暖需求调节暖气供应量,控制芯片根据流量传感器实时监测供暖介质的温度、流量、压力和流速的参数信息控制阀门动作,发生异常状况时能够及时闭合,供暖控制中心能够根据控制芯片记录和存储的温度数据对取暖费进行核算,实现取暖费的多退少补;其工艺过程简单,原理科学合理,性能安全可靠,节能环保,使用环境友好。


