授权公布号:CN205447282U
一种液体管路溢漏自动检测控制装置
有效
申请
2016-04-06
申请公布
1970-01-01
授权
2016-08-10
预估到期
2026-04-06
| 申请号 | CN201620279714.5 |
| 申请日 | 2016-04-06 |
| 授权公布号 | CN205447282U |
| 授权公告日 | 2016-08-10 |
| 分类号 | F17D5/02;F17D3/18;F24D19/10 |
| 分类 | 气体或液体的贮存或分配; |
| 申请人名称 | 青岛瑞雪兆散热器有限公司 |
| 申请人地址 | 山东省青岛市崂山区辽阳东路高科园装饰城9号壹楼A-35号 |
专利法律状态
2016-08-10
授权
状态信息
授权
摘要
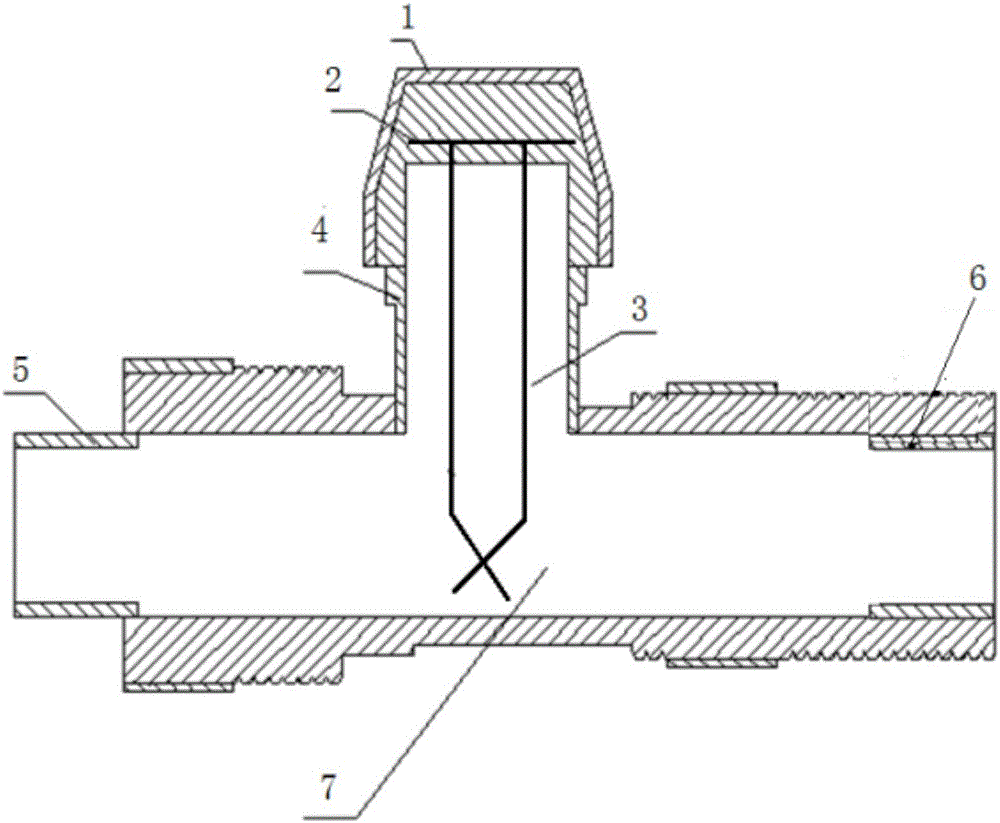
本实用新型属于流体溢漏检测技术领域,涉及一种液体管路溢漏自动检测控制装置,主体结构包括阀门、控制芯片、流量传感器、刻度盘、暖气管道连接头、暖气片连接头和三通,阀门与三通的上端螺纹式连接,阀门的内部设置有控制芯片,阀门的内部空腔中设置有伸入三通内部的流量传感器,阀门的表面刻有刻度盘,安装在暖气片与供暖管道之间,能够根据取暖需求调节暖气供应量,控制芯片根据流量传感器实时监测供暖介质的参数信息控制阀门动作,发生异常状况时能够及时闭合,防止泄漏,并根据控制芯片记录和存储的温度数据对取暖费进行核算,实现多退少补;其结构简单,原理科学合理,性能安全可靠,节能环保,维修成本低,使用环境友好。


