授权公布号:CN213014939U
一种新型吊顶材料加强结构及家装吊顶边吊结构
有效
申请
2020-09-23
申请公布
1970-01-01
授权
2021-04-20
预估到期
2030-09-23
| 申请号 | CN202022107737.7 |
| 申请日 | 2020-09-23 |
| 授权公布号 | CN213014939U |
| 授权公告日 | 2021-04-20 |
| 分类号 | E04B9/00;E04B9/04 |
| 分类 | 建筑物; |
| 申请人名称 | 成都雅巢建材有限公司 |
| 申请人地址 | 四川省成都市金牛区金牛万达甲级写字楼A座1404 |
专利法律状态
2021-04-20
授权
状态信息
授权
摘要
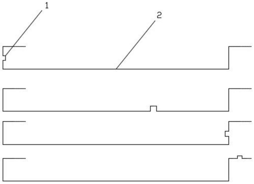
本实用新型公开一种新型吊顶材料加强结构及家装吊顶边吊结构,包括扣板,所述扣板具有多个表面,多个所述表面中至少一个表面设置有凹槽;所述扣板具有底面、左上顶面、右上顶面、左侧面和右侧面;所述底面、左上顶面、右上顶面、左侧面和右侧面中至少一个面设置有凹槽。本实用新型在扣板的宽面增加圆弧型凹槽或方形凹槽来增加产品结构强度,经过开槽后的扣板,能在安装时增加U型装饰条,以达到更好的装饰效果;同时,通过改进结构,可以使用扣板制作边吊,成本低廉、安装简便,与传统石膏吊顶相比具有防火、防潮、不开裂、不变形等优点,且省去传统石膏板吊顶刷漆、打磨等工序。


