授权公布号:CN212280314U
吹风机
有效
申请
2020-03-31
申请公布
1970-01-01
授权
2021-01-05
预估到期
2030-03-31
| 申请号 | CN202020452035.X |
| 申请日 | 2020-03-31 |
| 授权公布号 | CN212280314U |
| 授权公告日 | 2021-01-05 |
| 分类号 | A45D20/10;A45D20/12 |
| 分类 | 手携物品或旅行品; |
| 申请人名称 | 深圳奥郎格环保有限公司 |
| 申请人地址 | 广东省深圳市宝安区沙井街道后亭茅洲山工业园工业大厦全至科技创新园科创大厦11层A\11层B |
专利法律状态
2021-01-05
授权
状态信息
授权
摘要
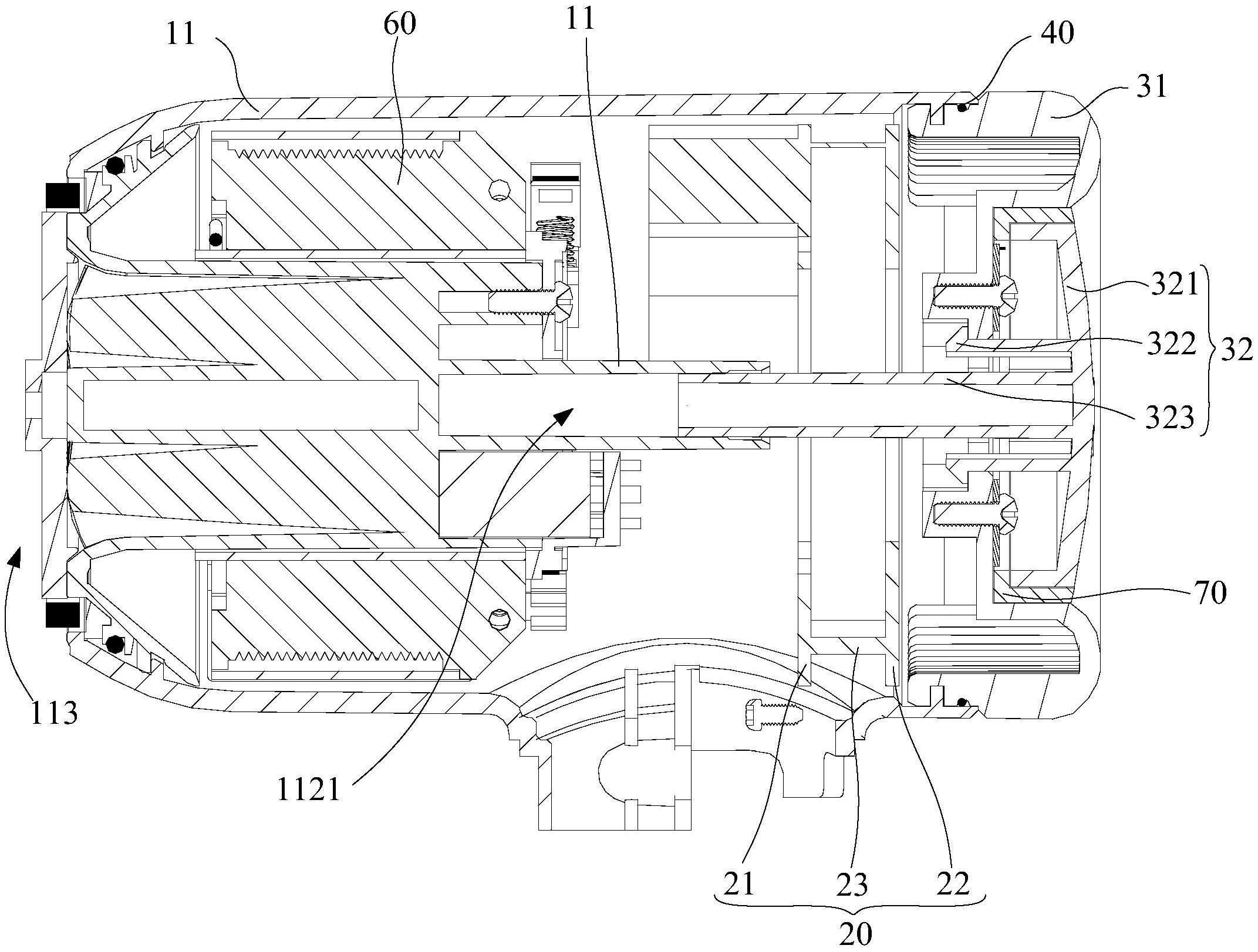
本实用新型公开一种吹风机,吹风机包括壳体、主控板以及端盖,所述壳体开设有安装口;所述主控板通过所述安装口设于所述壳体内;所述端盖盖设密封所述安装口,并固定连接于所述壳体,以与所述壳体形成为一体结构。本实用新型技术方案旨在使吹风机整体安装后端盖不易拆卸,避免用户容易触碰到主控板,提高吹风机使用的安全性。


