授权公布号:CN114468822B
一种采用石墨烯发热膜为发热元件的电热毛巾架
有效
申请
2022-01-13
申请公布
2022-05-13
授权
2023-05-23
预估到期
2042-01-13
| 申请号 | CN202210035689.6 |
| 申请日 | 2022-01-13 |
| 申请公布号 | CN114468822A |
| 申请公布日 | 2022-05-13 |
| 授权公布号 | CN114468822B |
| 授权公告日 | 2023-05-23 |
| 分类号 | A47K10/06;A47K10/10;H05B3/34;H05B1/02;H05B3/14 |
| 分类 | 家具;家庭用的物品或设备;咖啡磨;香料磨;一般吸尘器; |
| 申请人名称 | 江西艾芬达暖通科技股份有限公司 |
| 申请人地址 | 江西省上饶市上饶经济技术开发区兴业大道97号 |
专利法律状态
2023-05-23
授权
状态信息
授权
2023-05-12
著录事项变更
状态信息
著录事项变更;IPC(主分类):A47K10/06;变更事项:申请人;变更前:江西艾芬达暖通科技股份有限公司;变更后:江西艾芬达暖通科技股份有限公司;变更事项:地址;变更前:334000 江西省上饶市广信区上饶经济开发旭日片区;变更后:334000 江西省上饶市上饶经济技术开发区兴业大道97号
2022-05-31
实质审查的生效
状态信息
实质审查的生效;IPC(主分类):A47K10/06;申请日:20220113
2022-05-13
公布
状态信息
公布
摘要
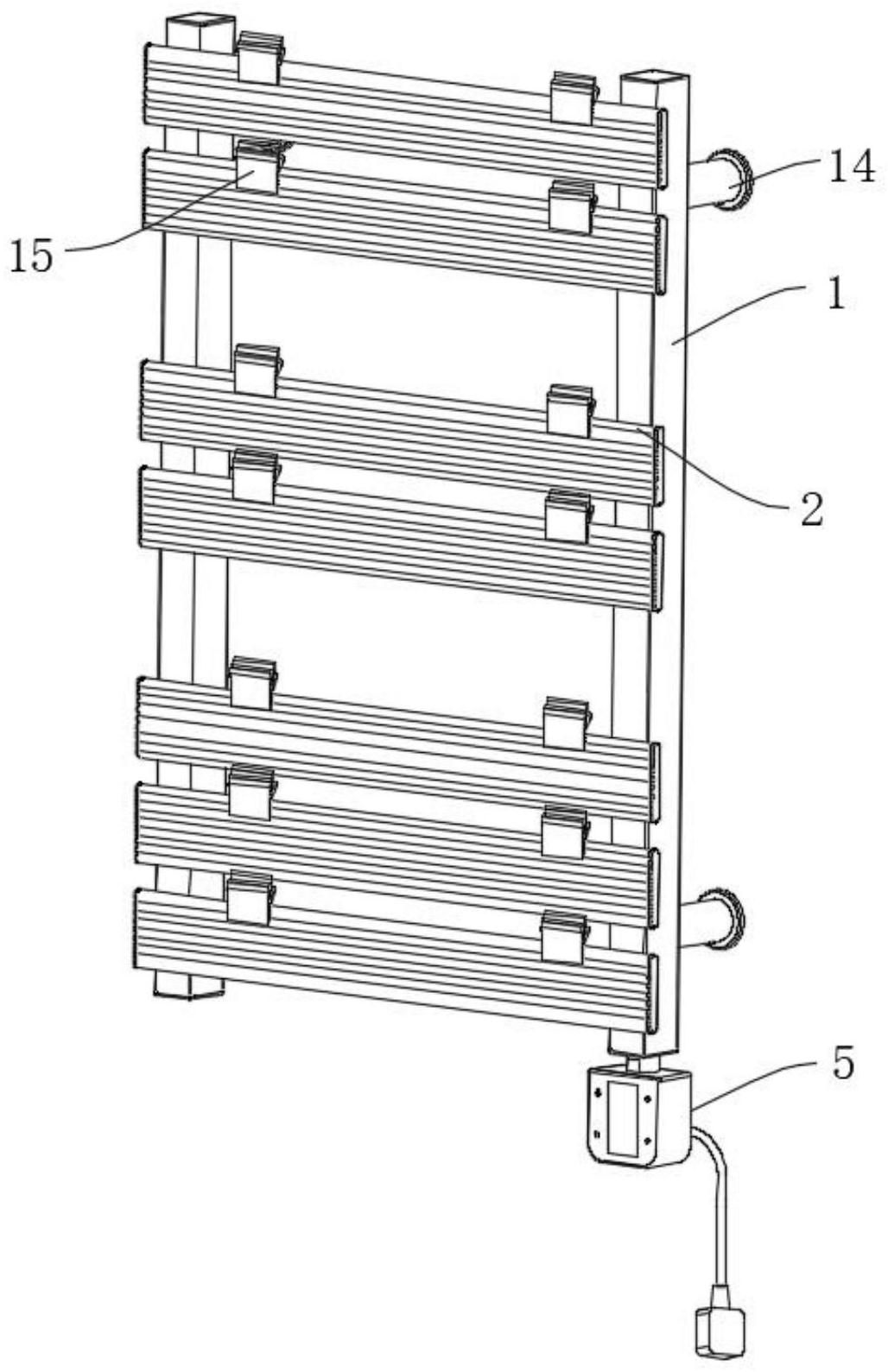
本发明公开了一种采用石墨烯发热膜为发热元件的电热毛巾架,包括竖板和横板,横板的内部安装有石墨烯发热膜,石墨烯发热膜与横板之间设置有压紧机构,石墨烯发热膜电性连接有温控器,温控器电性连接有NTC温度传感器,NTC温度传感器通过导热胶粘贴在石墨烯发热膜上,温控器的输入端电性连接有电源连接件,连接导线通过穿线孔贯穿于竖板内部,穿线孔设置在竖板的侧壁上;横板的顶面通过滑动机构与夹持机构滑动连接,石墨烯发热膜与横板之间设置有压紧机构,两个横板的背侧均通过螺丝固定安装有伸缩机构,解决了现有的电热毛巾架成本高,发热慢,发热不均匀,工艺复杂,热能转换率不高,不节能以及毛巾易掉落的问题。


