授权公布号:CN217519973U
一种便于调节湿度的恒湿机
有效
申请
2022-04-28
申请公布
1970-01-01
授权
2022-09-30
预估到期
2032-04-28
| 申请号 | CN202221099724.2 |
| 申请日 | 2022-04-28 |
| 授权公布号 | CN217519973U |
| 授权公告日 | 2022-09-30 |
| 分类号 | F24F3/14;F24F13/00 |
| 分类 | 供热;炉灶;通风; |
| 申请人名称 | 上海贝菱电器有限公司 |
| 申请人地址 | 上海市奉贤区庄行镇航南公路8118号4号厂房 |
专利法律状态
2022-09-30
授权
状态信息
授权
2022-04-28
公布
状态信息
公布
摘要
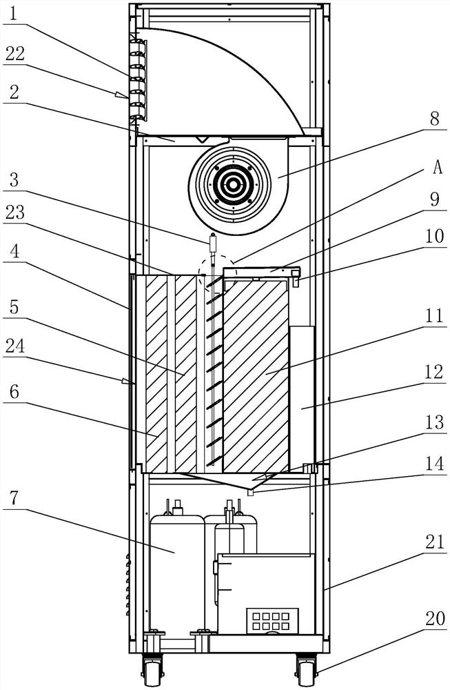
本申请涉及恒湿设备的领域,公开了一种便于调节湿度的恒湿机,其包括恒湿机本体,恒湿机本体上开设有出气口与进气口,恒湿机本体于进气口与进气口之间设置有用于加快空气流动速度的风机,恒湿机本体于进气口处设置有进气通道,进气通道内设置有用于除湿的蒸发器,进气通道远离进气口的一端设置有过水块,过水块上固定有淋水组件;进气通道靠近过水块的一端靠近两侧均设置有连接板,两个连接板之间转动连接有多个用于封闭进气通道的封板,封板上转动连接有用于连接多个封板的连接杆,恒湿机本体上设置有用于驱动封板转动的驱动件,进气通道上部与封板之间形成有使用封板进行关闭的通气口。申请具有提高恒湿机除湿的效果。


