授权公布号:CN218879641U
富氢水制备灌装系统
有效
申请
2022-10-28
申请公布
1970-01-01
授权
2023-04-18
预估到期
2032-10-28
| 申请号 | CN202222889090.7 |
| 申请日 | 2022-10-28 |
| 授权公布号 | CN218879641U |
| 授权公告日 | 2023-04-18 |
| 分类号 | C02F9/00;C02F1/68;B65B3/28;B67C3/28;B01F23/20;B01F35/21;B01F35/221;C02F1/44N;C02F1/461N;C02F1/00N |
| 分类 | 水、废水、污水或污泥的处理; |
| 申请人名称 | 宁波龙巍环境科技有限公司 |
| 申请人地址 | 浙江省宁波市杭州湾新区金溪支路23号 |
专利法律状态
2023-04-18
授权
状态信息
授权
摘要
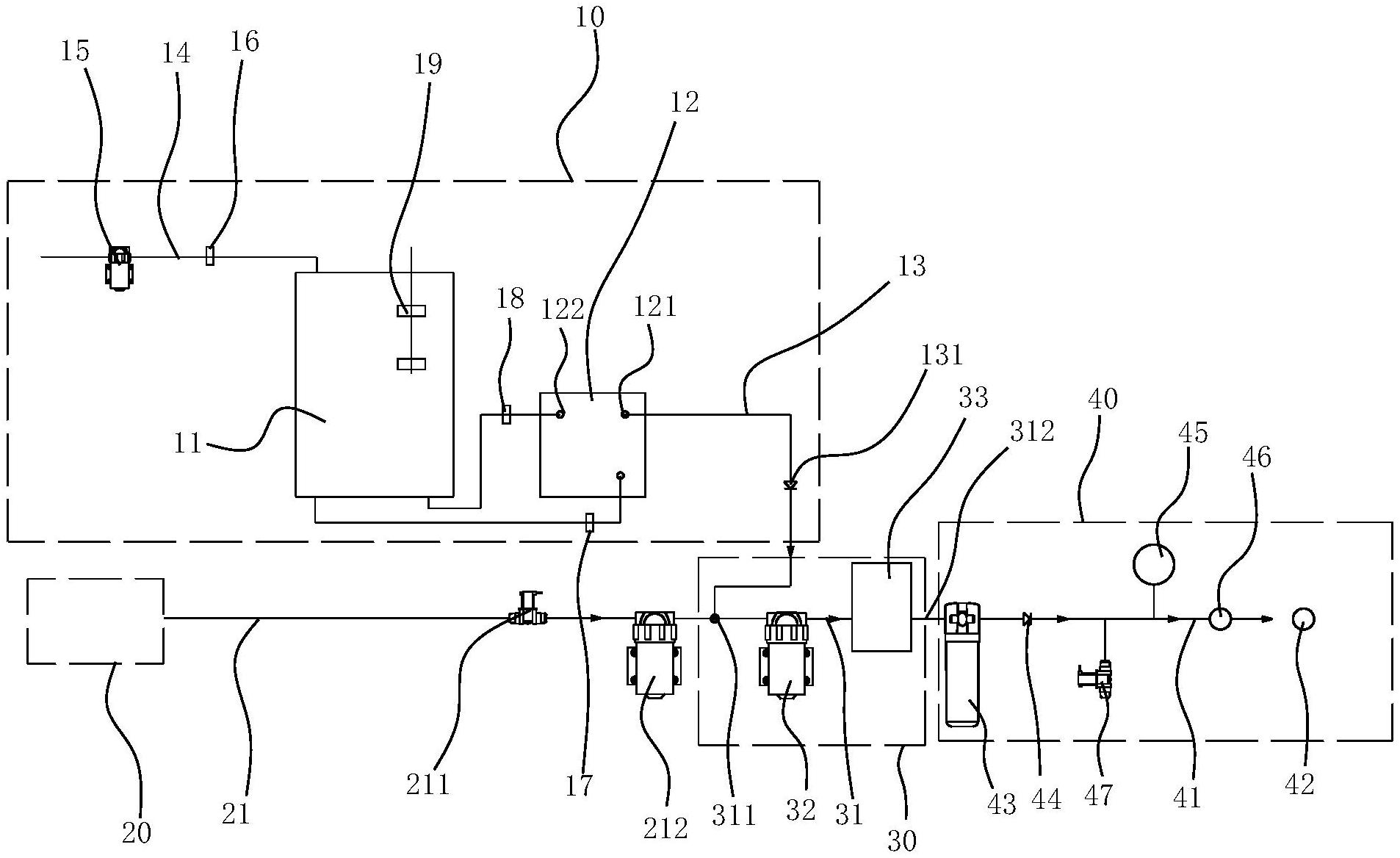
本实用新型提供了一种富氢水制备灌装系统,富氢水制备灌装系统包括制氢单元、净水单元、混氢单元和灌装单元,混氢管的两端分别是用于进行第一次混氢的进流端,混氢管上沿流向依次连接有用于第二次混氢的第二自吸泵和用于第三次混氢的混氢滤瓶。富氢水制备灌装方法,包括如下步骤:启动电解槽进行制氢,打开第二进水电磁阀并启动第一自吸泵,氢气出流管中的氢气与净水出流管中的净水在进流端进行第一次混氢形成富氢水;启动第二自吸泵通过第二自吸泵的内部搅拌作用进行第二次混氢;在第二自吸泵泵送出的高压水流作用下曝气进行第三次混氢。上述方案中通过三次混氢和两次加压在提升富氢水浓度的同时提升压力便于富氢水保存。


