授权公布号:CN210717937U
一种加湿器的下水箱结构
有效
申请
2019-09-11
申请公布
1970-01-01
授权
2020-06-09
预估到期
2029-09-11
| 申请号 | CN201921518284.8 |
| 申请日 | 2019-09-11 |
| 授权公布号 | CN210717937U |
| 授权公告日 | 2020-06-09 |
| 分类号 | F24F6/12;F24F13/20 |
| 分类 | 供热;炉灶;通风; |
| 申请人名称 | 佛山市顺德区巨科电器有限公司 |
| 申请人地址 | 广东省佛山市顺德区勒流江村港口路江村路段 |
专利法律状态
2020-08-18
专利申请权、专利权的转移
状态信息
专利权的转移;IPC(主分类):F24F6/12;专利号:ZL2019215182848;登记生效日:20200729;变更事项:专利权人;变更前权利人:覃永;变更后权利人:佛山市顺德区巨科电器有限公司;变更事项:地址;变更前权利人:528322 广东省佛山市顺德区勒流镇宝城路24号3幢601;变更后权利人:528300 广东省佛山市顺德区勒流江村港口路江村路段
2020-06-09
授权
状态信息
授权
摘要
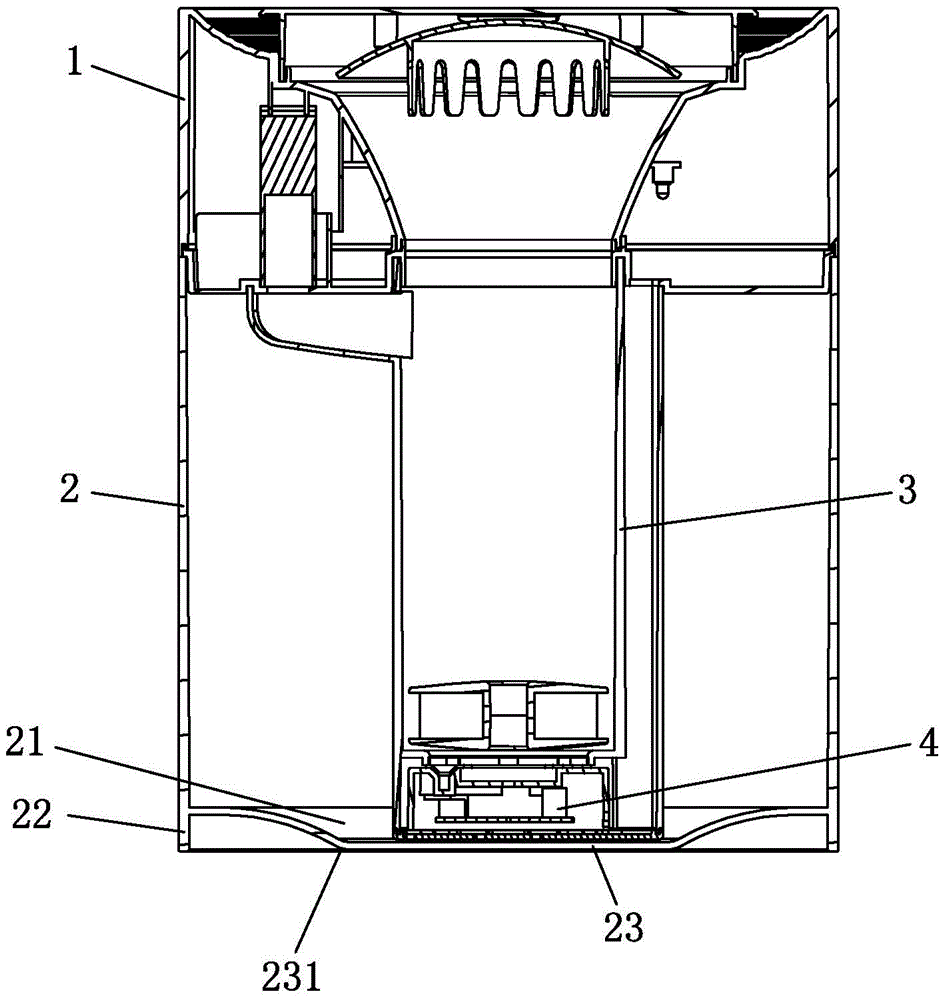
本实用新型涉及一种加湿器的下水箱结构,包括用于与顶盖可拆卸连接的下水箱体,顶盖内设有用于装配电器元件的电器腔,电器腔内设有显示控制板,顶盖的底部设有聚能雾化管,聚能雾化管的底部设有雾化组件,雾化组件与显示控制板电连接,下水箱体的底部内侧对应聚能雾化管的位置上设有下凹部,聚能雾化管的底部向下延伸至下凹部内,通过把吹风机和显示控制板设置在顶盖的电器腔内,杜绝下水箱内的水渗漏至电器腔内的情况,顶盖与下水箱之间无需额外的防水处理,降低了生产成本,聚能雾化管底部的雾化组件可以延伸至下凹部,增加了雾化组件对应的水体的相对深度,使雾化组件与水体的反应更加充分。


