授权公布号:CN216522149U
一种落地式加湿器
有效
申请
2021-12-24
申请公布
1970-01-01
授权
2022-05-13
预估到期
2031-12-24
| 申请号 | CN202123316471.8 |
| 申请日 | 2021-12-24 |
| 授权公布号 | CN216522149U |
| 授权公告日 | 2022-05-13 |
| 分类号 | F24F6/12;F24F13/20;F24F13/32 |
| 分类 | 供热;炉灶;通风; |
| 申请人名称 | 佛山市顺德区巨科电器有限公司 |
| 申请人地址 | 广东省佛山市顺德区勒流江村港口路江村路段 |
专利法律状态
2022-05-13
授权
状态信息
授权
摘要
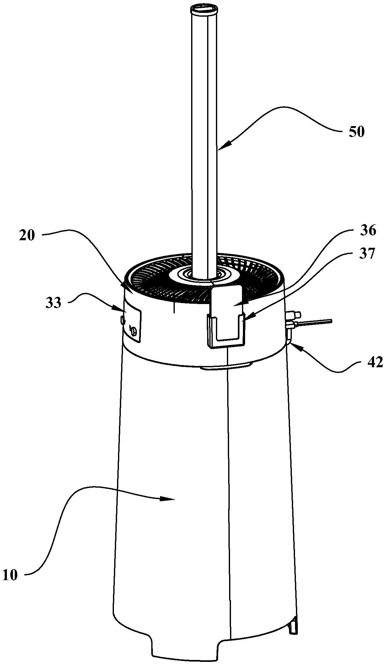
本实用新型公开了一种落地式加湿器,涉及加湿器技术领域。该落地式加湿器包括底座组件、雾化头组件、顶盖组件和导雾管组件;底座组件包括内桶体和外桶座,内桶体可拆卸的安装于外桶座,内桶体设有用于容纳水的水腔;雾化头组件可放置在水腔内;顶盖组件可放置在外桶座的上方;顶盖组件中设置有导雾通道,导雾管组件的安装于顶盖组件的上方。本实用新型,在进行加水时,可以拆卸顶盖组件,直接朝底座组件内添加水;或者,拆卸导雾管组件,通过导雾通道朝底座组件内添加水;还可以,取下内桶体,直接在水源处添加水,再将内桶体安装回外桶体。加水方式多样,结构简单,使用操作方便,可提供用户多种加水方式的选择。


