授权公布号:CN211695264U
一种加湿器的二级聚合器结构
有效
申请
2020-02-14
申请公布
1970-01-01
授权
2020-10-16
预估到期
2030-02-14
| 申请号 | CN202020173747.8 |
| 申请日 | 2020-02-14 |
| 授权公布号 | CN211695264U |
| 授权公告日 | 2020-10-16 |
| 分类号 | F24F6/12;F24F13/00 |
| 分类 | 供热;炉灶;通风; |
| 申请人名称 | 佛山市顺德区巨科电器有限公司 |
| 申请人地址 | 广东省佛山市顺德区勒流江村港口路江村路段 |
专利法律状态
2020-10-16
授权
状态信息
授权
摘要
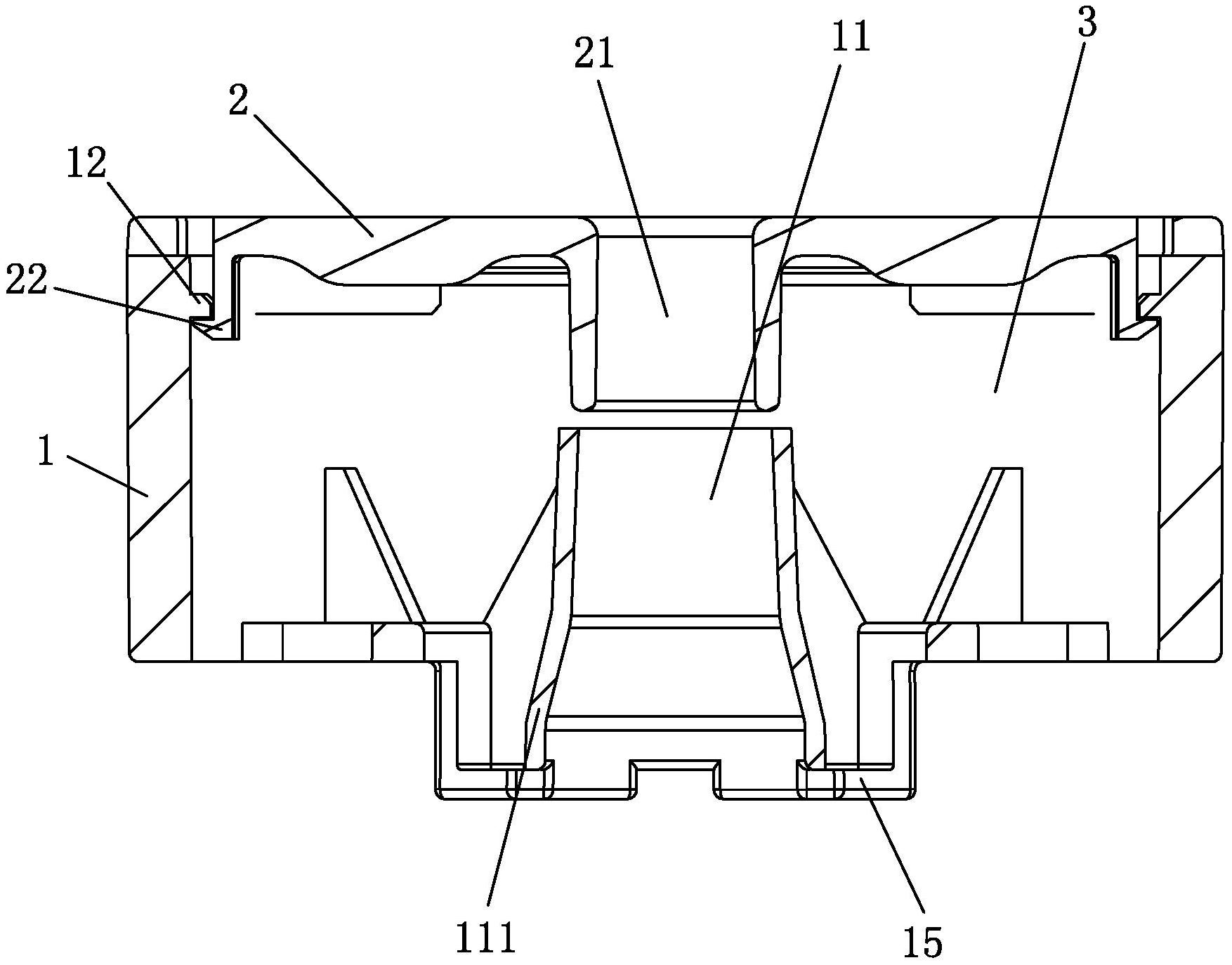
本实用新型涉及一种加湿器的二级聚合器结构,包括聚能环主体以及设置于其上端的聚能环上盖,聚能环主体与聚能环上盖之间形成聚能腔,聚能环主体上设有下聚能孔,聚能环上盖上设有上聚能孔,下聚能孔与上聚能孔相互同心设置,聚能腔分别与上聚能孔以及下聚能孔连通,下聚能孔的底部设有内径由上至下递增的喇叭口,上聚能孔的内径小于下聚能孔的内径,超声波震荡发生器产生的震荡能量与聚能环主体的底部作用后形成水雾,当水雾经过下聚能孔进入聚能腔后,震荡能量可以继续与聚能环上盖作用,从而起到二级聚能的效果,提高震荡能量的利用效率,提升整体雾化效果。


