授权公布号:CN211600989U
一种带加水自动断电功能的加湿器
有效
申请
2020-02-14
申请公布
1970-01-01
授权
2020-09-29
预估到期
2030-02-14
| 申请号 | CN202020173841.3 |
| 申请日 | 2020-02-14 |
| 授权公布号 | CN211600989U |
| 授权公告日 | 2020-09-29 |
| 分类号 | F24F6/12;F24F11/89 |
| 分类 | 供热;炉灶;通风; |
| 申请人名称 | 佛山市顺德区巨科电器有限公司 |
| 申请人地址 | 广东省佛山市顺德区勒流江村港口路江村路段 |
专利法律状态
2020-09-29
授权
状态信息
授权
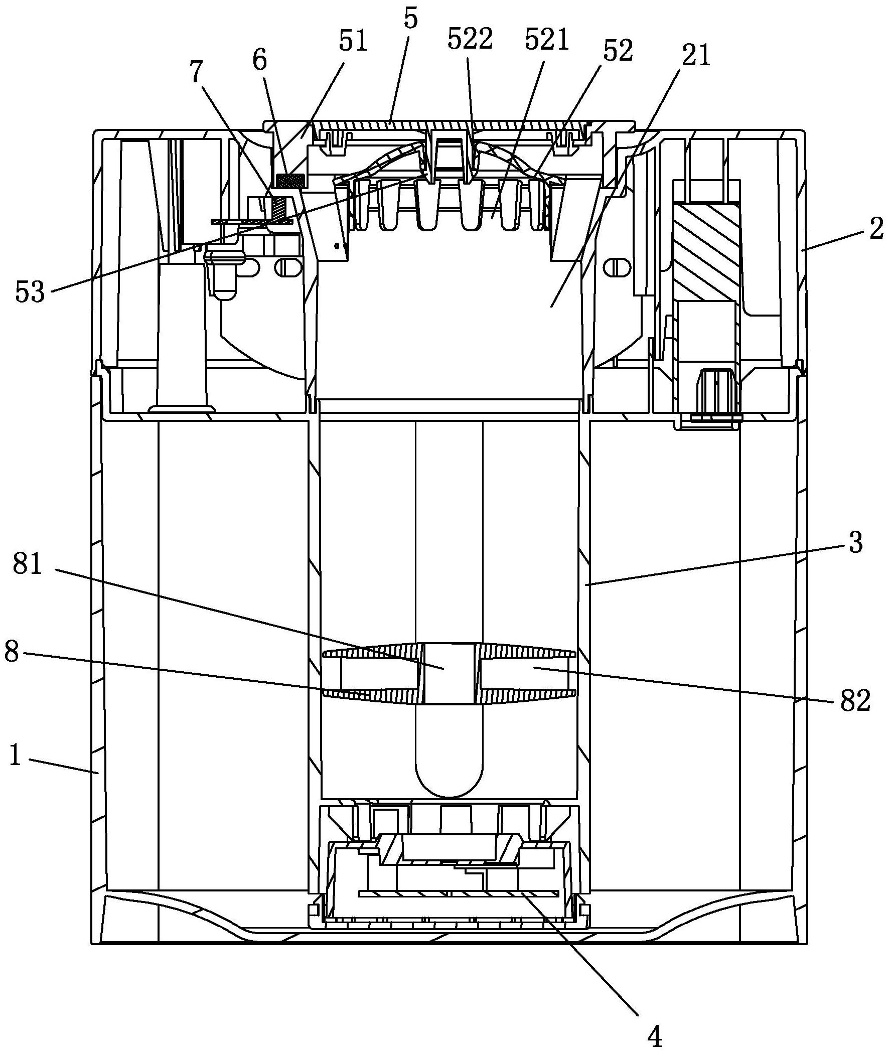
摘要
本实用新型涉及一种带加水自动断电功能的加湿器,包括下水箱以及盖接于其上的顶盖,顶盖的底部设有向下延伸至下水箱内腔的聚能雾化管,聚能雾化管的底部设有雾化组件,顶盖的上端面上设有出雾口,出雾口的外侧设有出雾盖,出雾盖与顶盖可拆卸连接,出雾盖上设有磁块,顶盖与下水箱的之间形成电器腔,电器腔内对应磁块的位置上设有霍尔开关,霍尔开关与雾化组件电连接,霍尔开关与出雾盖上的磁块在霍尔效应的作用下,形成对雾化组件的启停控制,当取走出雾盖时,磁块与霍尔开关之间的作用消失,雾化组件在霍尔开关的作用下自动停止工作,用户无需另外进行断电操作,避免出雾盖打开时被喷出的水体溅湿。


