授权公布号:CN217383181U
一种净污水分离式无雾加湿器
有效
申请
2022-06-02
申请公布
1970-01-01
授权
2022-09-06
预估到期
2032-06-02
| 申请号 | CN202221384964.7 |
| 申请日 | 2022-06-02 |
| 授权公布号 | CN217383181U |
| 授权公告日 | 2022-09-06 |
| 分类号 | F24F6/04;F24F8/108;F24F8/80;F24F13/28;F24F13/00;F24F11/89;F24F13/20 |
| 分类 | 供热;炉灶;通风; |
| 申请人名称 | 佛山市顺德区巨科电器有限公司 |
| 申请人地址 | 广东省佛山市顺德区勒流江村港口路江村路段 |
专利法律状态
2022-09-06
授权
状态信息
授权
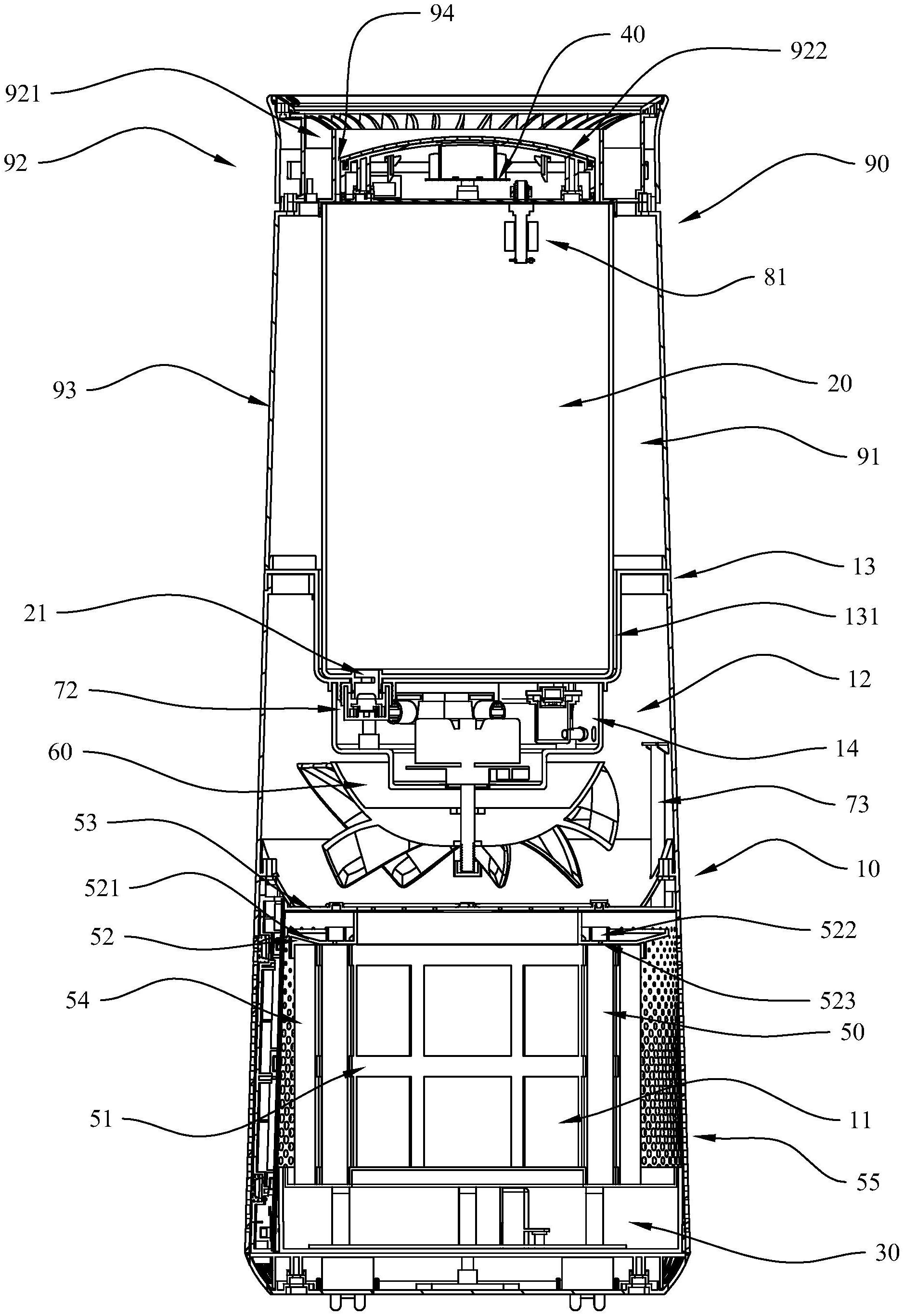
摘要
本实用新型公开了一种净污水分离式无雾加湿器,基座设有水帘室和鼓风室,湿帘安装于水帘室,风扇组件安装于鼓风室;第一水箱通过第一水泵组件可朝湿帘供水;第二水箱可收集湿帘流出的水;第二水箱可通过第二水泵组件朝湿帘供水;第一水位感应组件可检测第二水箱的水位,并反馈水位信号至控制中心。本实用新型,设有相互独立的两个水箱,第一水箱作为主水箱,用于储存水,第二水箱作为工作循环水箱,可收集湿帘流出的水。二水箱的集水量少,内部堆积的脏物不易进一步扩散;干净水在工作循环过程中基本被负压气流带走,不会由于长时间循环于第二水箱而被扩散脏物,使无雾加湿器工作过程中的无雾空气更为干净卫生。


