授权公布号:CN217763749U
一种具有上加水结构的落地式加湿器
有效
申请
2022-07-28
申请公布
1970-01-01
授权
2022-11-08
预估到期
2032-07-28
| 申请号 | CN202221974625.4 |
| 申请日 | 2022-07-28 |
| 授权公布号 | CN217763749U |
| 授权公告日 | 2022-11-08 |
| 分类号 | F24F6/12;F24F13/00 |
| 分类 | 供热;炉灶;通风; |
| 申请人名称 | 佛山市顺德区巨科电器有限公司 |
| 申请人地址 | 广东省佛山市顺德区勒流江村港口路江村路段 |
专利法律状态
2022-11-08
授权
状态信息
授权
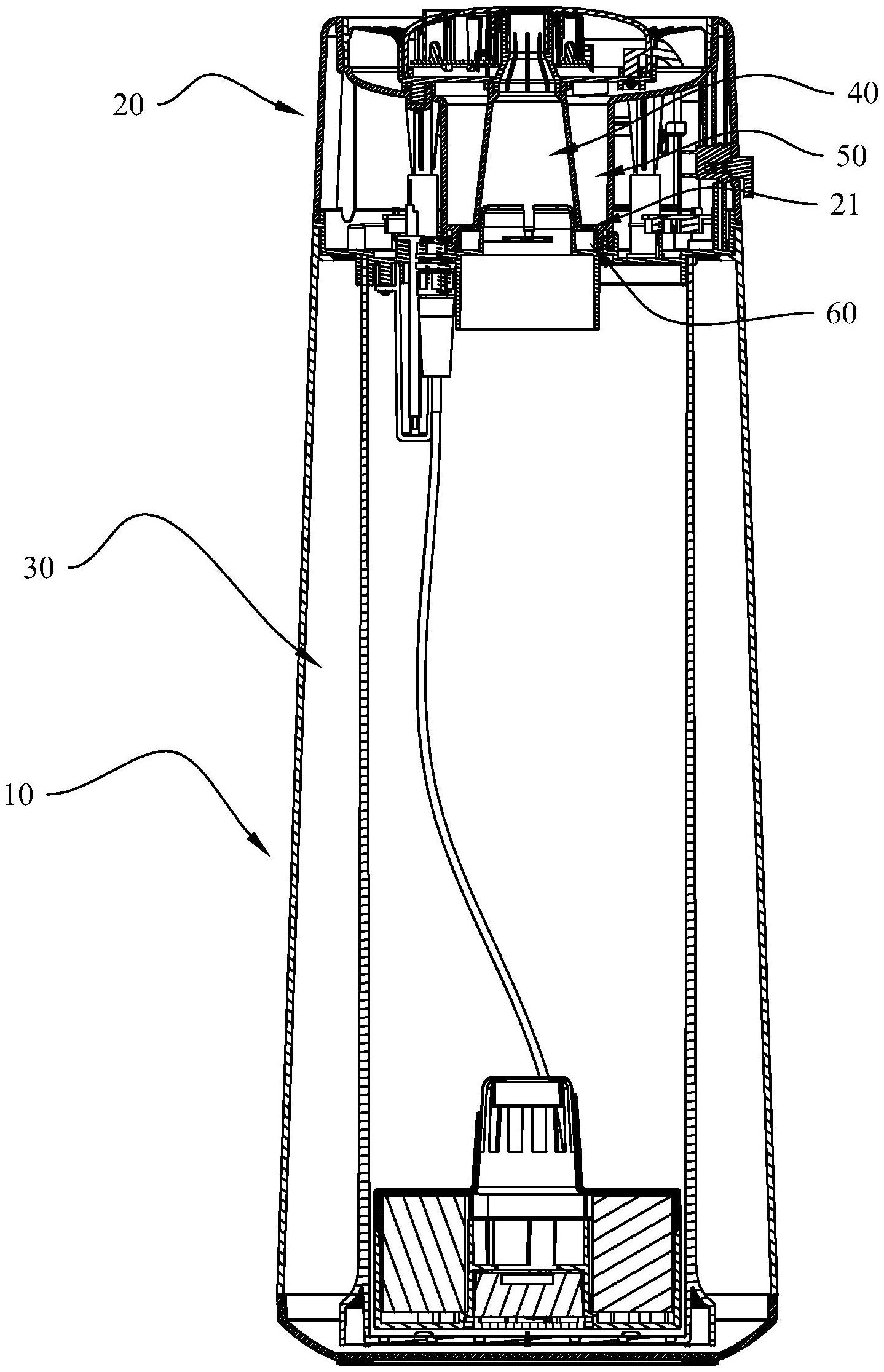
摘要
本实用新型公开了一种具有上加水结构的落地式加湿器,包括:箱体及机头总成;箱体设置有储水腔,机头总成盖设于储水腔的上方;机头总成设置有独立的出雾通道和下水通道;下水通道靠近储水腔的一端设置有过水室;过水室的上方开设有若干个第一下水孔,以连通下水通道;过水室的下方开设有若干个第二下水孔,以连通储水腔;第一下水孔和第二下水孔错位设置。本实用新型,通过在下水室上下层错位设置的第一下水孔和第二下水孔结构,不需要额外增加吸水棉或过滤棉等元件,即能够实现防漏雾的效果,又能维持流程快速的下水效果,方便加水。可有效降低生产成本,也提高了用户的使用体验。


