授权公布号:CN217763751U
一种具有飘浮雾化结构的落地式加湿器
有效
申请
2022-07-28
申请公布
1970-01-01
授权
2022-11-08
预估到期
2032-07-28
| 申请号 | CN202221978529.7 |
| 申请日 | 2022-07-28 |
| 授权公布号 | CN217763751U |
| 授权公告日 | 2022-11-08 |
| 分类号 | F24F6/12;F24F13/02 |
| 分类 | 供热;炉灶;通风; |
| 申请人名称 | 佛山市顺德区巨科电器有限公司 |
| 申请人地址 | 广东省佛山市顺德区勒流江村港口路江村路段 |
专利法律状态
2022-11-08
授权
状态信息
授权
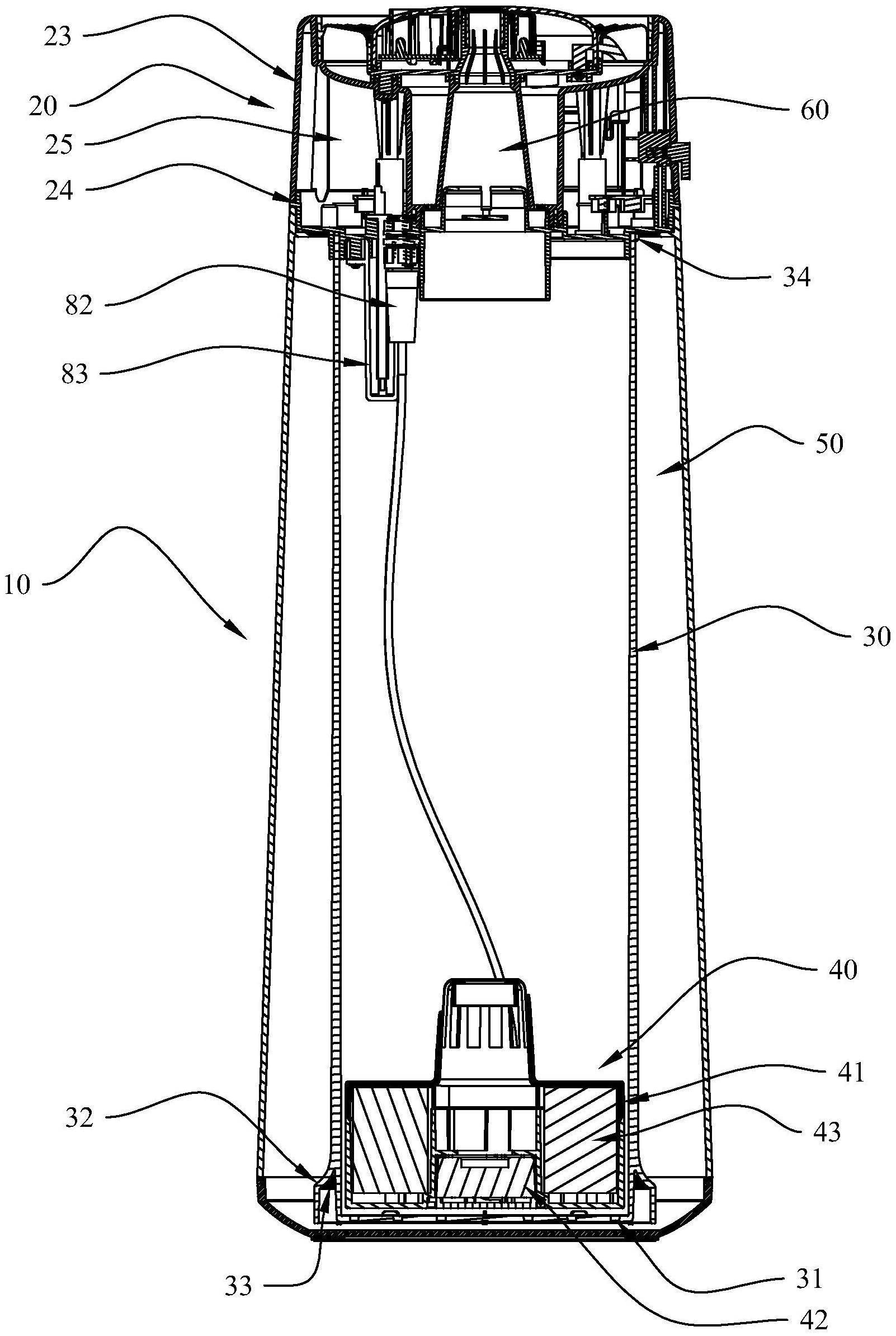
摘要
本实用新型公开了一种具有飘浮雾化结构的落地式加湿器,箱体设置有储水腔;导雾管可拆卸地安装于机头总成,位于储水腔内;机头总成盖设于储水腔的上方,设置有出雾通道;出雾通道的一端与导雾管连通;雾化器总成安装于导雾管内;导雾管的底部与储水腔连通;雾化器总成包括雾化器外壳组件及安装于雾化器外壳组件的雾化头和浮子;浮子可使雾化器总成随导雾管内雾化液的液面漂浮。本实用新型,雾化头总成在浮子的作用下,可随导雾管内雾化液的液面漂浮而上下浮动,此时雾化头与雾化液液面的相对位置保持稳定不变,不会因水位相对高度变化而影响雾化效果,可以维持较为理想的雾化性能,实现稳定加湿的效果。


