授权公布号:CN205730995U
溶浆搅拌装置
有效
申请
2016-05-24
申请公布
1970-01-01
授权
2016-11-30
预估到期
2026-05-24
| 申请号 | CN201620480203.X |
| 申请日 | 2016-05-24 |
| 授权公布号 | CN205730995U |
| 授权公告日 | 2016-11-30 |
| 分类号 | B01F7/16;B01F15/00 |
| 分类 | 一般的物理或化学的方法或装置; |
| 申请人名称 | 广州南雪药业有限公司 |
| 申请人地址 | 广东省广州市白云区太和镇龙归南岭大墩松园龙岗路自编1号 |
专利法律状态
2016-11-30
授权
状态信息
授权
摘要
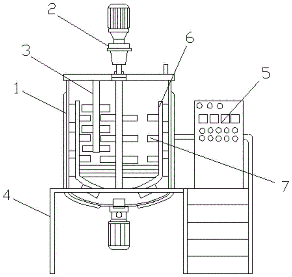
本实用新型公开一种溶浆搅拌装置,包括罐体、搅拌器、螺旋叶羽、机架和控制器,所述螺旋叶羽设置在罐体内,所述搅拌器安装于罐体上,所述螺旋叶羽与罐体转动连接,所述螺旋叶羽与搅拌器连动;该溶浆搅拌装置生产效率高,能有效促使活性成分材料有效化合。


