授权公布号:CN210503462U
一种可调热封宽度的热封设备
有效
申请
2019-07-03
申请公布
1970-01-01
授权
2020-05-12
预估到期
2029-07-03
| 申请号 | CN201921029878.2 |
| 申请日 | 2019-07-03 |
| 授权公布号 | CN210503462U |
| 授权公告日 | 2020-05-12 |
| 分类号 | B65B51/14 |
| 分类 | 输送;包装;贮存;搬运薄的或细丝状材料; |
| 申请人名称 | 上海亮靓生物科技有限公司 |
| 申请人地址 | 上海市松江区佘山镇陶干路876号 |
专利法律状态
2020-05-12
授权
状态信息
授权
摘要
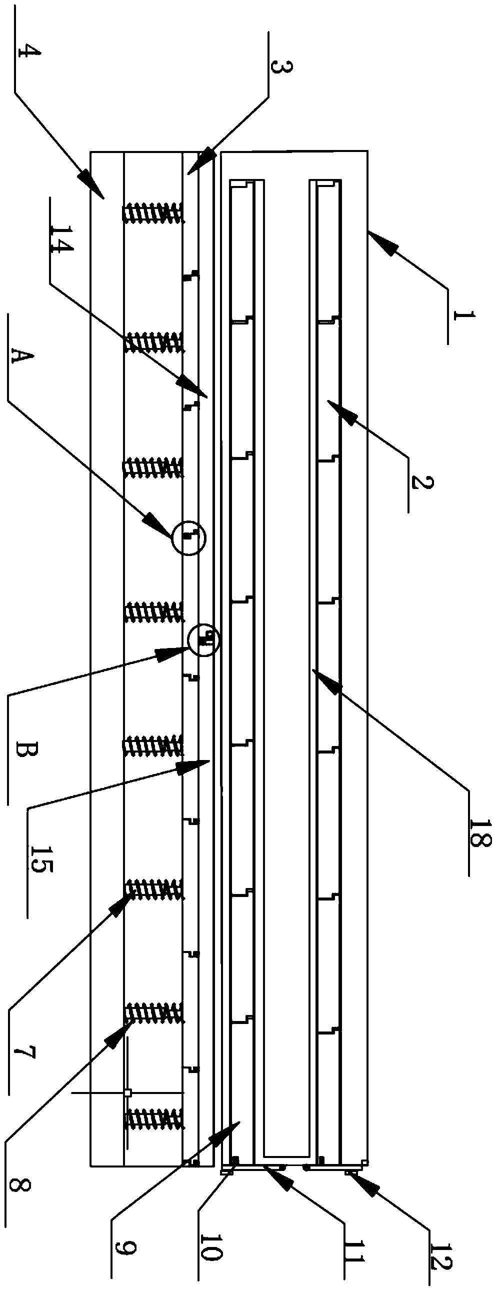
本实用新型公开了一种可调热封宽度的热封设备,具体涉及包装设备技术领域,包括外壳,所述外壳内部设有加热块伸缩机构;所述加热块伸缩机构包括第一弹板,所述第一弹板底部设有伸缩杆,所述弹簧套设于伸缩杆表面,所述弹簧底部设有第一固定板,其中一个所述弹簧底部设有第二弹板,所述第二弹板内部贯穿设有电阻丝,所述外壳底部设有置物台,所述置物台内部设有升降式伸缩机构;所述升降式伸缩机构包括第三弹板,所述第三弹板顶部设有第一挡板和第二挡板。本实用新型的通过拉动外壳使第一弹板顶部失去压力,在弹簧的弹力作用下弹出,从而使加热块和使置物台伸长,实现了热封不同宽度防包装的效果。


