授权公布号:CN210511606U
一种用于化妆品生产的电加热蒸汽锅炉
有效
申请
2019-07-03
申请公布
1970-01-01
授权
2020-05-12
预估到期
2029-07-03
| 申请号 | CN201921031682.7 |
| 申请日 | 2019-07-03 |
| 授权公布号 | CN210511606U |
| 授权公告日 | 2020-05-12 |
| 分类号 | F22B1/28;F22B37/54 |
| 分类 | 蒸汽的发生; |
| 申请人名称 | 上海亮靓生物科技有限公司 |
| 申请人地址 | 上海市松江区佘山镇陶干路876号 |
专利法律状态
2020-05-12
授权
状态信息
授权
摘要
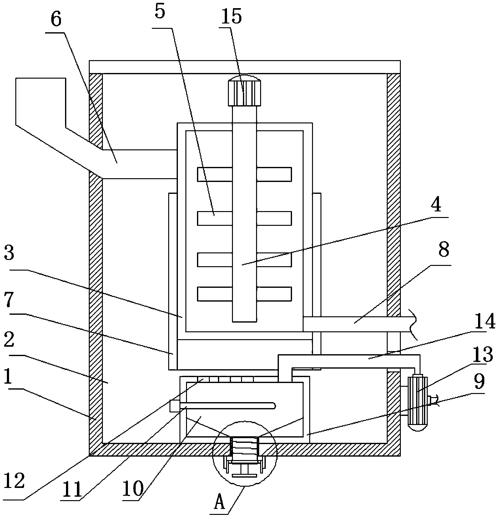
本实用新型属于化妆品生产设备领域,尤其是一种用于化妆品生产的电加热蒸汽锅炉,针对现有的多数化妆品生产的电加热蒸汽锅炉采用对水箱加热的方式产生蒸汽,但加热完成后的水箱中会残留很多的污垢淤积在水箱内,需要使用额外的加压设备不断冲刷水箱才能清除污垢,生产成本高,清理污垢的效率低的问题,现提出如下方案,其包括炉体,所述炉体上设有腔室,所述腔室的一侧内壁上固定安装有内胆,所述腔室的底部内壁上固定安装有水箱,且水箱上设有锥形内腔,本实用新型可以很方便的对水箱内的污垢进行清理,不需要额外的清理设备,大大降低清理维护成本的同时,不需要耗费太多清理时间,无形中提高了原料混合的效率。


